ВИЗАТОР
Новости японской автоиндустрии
  • Главная
  • Новости
  • FAQ
  • Аукционы
  • Руководства по ремонту
    • Nissan Wingroad Y12: полное руководство по ремонту и обслуживанию на русском языке
  1. Вы здесь:  
  2. Главная
  3. Руководства по ремонту

Данные по моменту затяжки

Информация о материале
Категория: Выхлопная система

Момент затяжки


単位: N·m(kg‐m)

[HR15DE・MR18DE]


エキゾーストシステム各接続部




エキゾーストマニホールド〜エキゾーストフロントチューブ
49.0(5.0)


エキゾーストフロントチューブ〜センターマフラー
49.0(5.0)


センターマフラー〜メインマフラー
34.8(3.5)

O2センサ2

50.0(5.1)

Осмотр выхлопной системы

Информация о материале
Категория: Выхлопная система

Инспекция

 
 取付後の点検

エンジンを始動した状態で部品脱着部を点検し、排気ガスの漏れや異音がないことを確認する。

Снятие и установка выхлопной системы

Информация о материале
Категория: Выхлопная система

Снятие и установка


■ 注意 ■
  • 排気系部品は材料的に耐熱、耐腐食性、また形状的にも十分配慮してあるので、必ず純正部品を使用すること。
  • エンジン停止直後はエキゾーストシステムが熱くなっているので、作業は十分に冷えた状態で行うこと。
  • 遮熱板のエッジで手を切らないよう十分注意すること。
  • 構成部品の脱着にエアツール、及び電動ツール等は使用しないこと。


 
 取り外し

  • 各接続部を分割して取り外す。
  • エキゾーストフロントチューブは上下反転させた状態で車体〜フロントサスペンションメンバー間から抜き出す。
    ■ 注意 ■
    触媒コンバーターを内蔵しているので衝撃を与えないよう取り扱うこと。
    参考:
    O2センサ2を取り外さない状態でエキゾーストフロントチューブの脱着は可能。(ハーネスコネクターの分離は要する)
  • O2センサ2はO2センサー脱着用レンチ[特殊工具: KV10114400]を使用して脱着する。
    ■ 注意 ■
    O2センサ2に衝撃を与えないよう取り扱うこと。
 
 取り付け

  • 各接続部のシール面はガスケット等の付着物をきれいに除去し、その後ガス漏れのないよう確実に接続する。
  • 排気管ASSYの取り付けは、エキゾーストシステム全体の取付ボルト、及び取付ナットの仮締めを行い、各部に異常な突っ張りなどがないことを確認し、規定のトルクで締め付ける。
  • 各マウントラバーのねじれ、上下左右の引っ張りに注意して取り付ける。
  • メインマフラー前方側とその他のマウントラバーは厚さが異なるのでメインマフラーの前方側に薄いマウントラバーを取り付ける。 (e·4WD)
  • シールベアリング部は以下の要領で取り付ける。
 
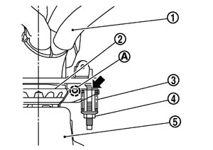
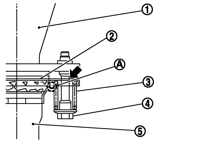
 エキゾーストマニホールドとエキゾーストフロントチューブ間

    1.図の方向でシールベアリング(2)をエキゾーストマニホールド(1)側に確実に挿入する。
    JPBIA0978ZZ.JPG

    5
    :エキゾーストフロントチューブ

    ■ 注意 ■
    挿入時にシールベアリング表面に傷等を付けないように注意すること。
    2.スプリング(3)を組み込み、取付ナット(4)を締め付ける。
    • スプリングはテーパー形状ではない。(取付方向は任意)
    • 取付ナットはスタッドボルトがフランジ部と干渉しないよう締め付ける。(図の矢印部)
    ■ 注意 ■
    • スプリングは(A)部に干渉しないようフランジ部に確実に着座させること。
    • 取付ナットは、左側から締め付けること。

 
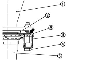
 エキゾーストフロントチューブとセンターマフラー間

    1.図の方向でシールベアリング(2)をエキゾーストフロントチューブ(1)側に確実に挿入する。
    JPBIA2174ZZ.JPG

    5
    :センターマフラー

    ■ 注意 ■
    挿入時にシールベアリング表面に傷等を付けないように注意すること。
    2.スプリング(3)を組み込み、取付ボルト(4)を締め付ける。
    • スプリングはテーパー形状ではない。(取付方向は任意)
    • 取付ボルトはフランジ部と干渉しないよう締め付ける。(図の矢印部)
    ■ 注意 ■
    スプリングは(A)部に干渉しないようフランジ部に確実に着座させること。

Схема конфигурации выхлопной системы

Информация о материале
Категория: Выхлопная система

Схема конфигурации


HR15DE
PBIC5131J.JPG
📄 Открыть схему PBIC5131J.PDF


1.
メインマフラー
2.
マウントラバー
3.
マウントラバー
4.
ガスケット
5.
センターマフラー
6.
マウントラバー
7.
スプリング
8.
シールベアリング
9.
エキゾーストフロントチューブ
10.
O2センサ2
11.
シールベアリング
12.
スタッドボルト
13.
スプリング
14.
ボンディングワイヤ


A.
e·4WD





  • 構成図内のシンボルマークについては、GI編構成図の見方を参照する。

MR18DE
PBIC4263J.JPG
📄 Открыть схему PBIC4263J.PDF


1.
メインマフラー
2.
マウントラバー
3.
ガスケット
4.
センターマフラー
5.
マウントラバー
6.
スプリング
7.
O2センサ2
8.
エキゾーストフロントチューブ
9.
シールベアリング
10.
シールベアリング
11.
スタッドボルト
12.
スプリング
13.
ボンディングワイヤ





  • 構成図内のシンボルマークついては、GI編構成図の見方を参照する。

Специальные предметы для подготовки инструмента

Информация о материале
Категория: Выхлопная система

специальные инструменты


名称
用途
O2センサー脱着用レンチ
KV10114400

KBIA2890J.JPG
O2センサ2脱着

  1. Система корпуса двигателя с коленчатым валом
  2. Главный подшипник, болт крышки подшипника, корпус двигателя
  3. Система корпуса двигателя с поршневыми кольцами
  4. Система корпуса двигателя с поршнями и поршневыми пальцами

Подкатегории

Nissan Wingroad Y12: полное руководство по ремонту и обслуживанию на русском языке

Общая информация

Общая информация

Двигатель

Выхлопная система

Двигатель механическая часть

Система охлаждения

Система смазки

Система управления двигателем

Топливная система

Управление акселератором

Трансмиссия

Автоматическая коробка передач (A/T)

Вариатор (CVT)

Привод и мосты

Задний мост и приводные валы

Передний мост и приводные валы

Электрический привод колес

Подвеска

Задняя подвеска

Колеса и шины

Передняя подвеска

Тормоза

Система управления тормозами

Стояночный тормоз

Тормозная система

Рулевое управление

Гидроусилитель руля

Система управления рулевым механизмом

Системы защиты пассажиров

Подушки безопасности SRS

Ремни безопасности

Кузов

Кузов, замки, безопасность

Приборная панель

Сиденья

Стекла, окна, зеркала

Экстерьер и интерьер

Кондиционирование

Автоматический кондиционер

Ручной кондиционер

Электрооборудование

Аудио-визуальная система

Информационная система водителя

Питание, заземление, электрические компоненты

Сеть LAN (CAN)

Система запуска и зарядки

Система освещения

Система управления кузовом

Стеклоочистители, омыватели, сигнал

Страница 11 из 894

  • 6
  • 7
  • 8
  • 9
  • 10
  • 11
  • 12
  • 13
  • 14
  • 15

© 2012- Поддержка и продвижение JediG: Joomla + REST API + Python
Отдых в горах на море в селе Сукко в 12 км от Анапы- подбор аренды


Японские автомобили от японского дилера без третьих лиц! Общение на русском! ePN