ВИЗАТОР
Новости японской автоиндустрии
  • Главная
  • Новости
  • FAQ
  • Аукционы
  • Руководства по ремонту
    • Nissan Wingroad Y12: полное руководство по ремонту и обслуживанию на русском языке
  1. Вы здесь:  
  2. Главная
  3. Руководства по ремонту

Снятие и установка форсунки переднего омывателя Передний стеклоочиститель/омыватель

Информация о материале
Категория: Стеклоочистители, омыватели, сигнал

Снятие и установка форсунки омывателя переднего стекла

 
 取り外し

    1.カウルトップカバーを取り外す。カウルトップを参照。
    SKIB7925J.JPG
    2.フロントウオッシャーノズルからウオッシャーホースを取り外す。
    3.フロントウオッシャーノズル裏の爪(A)2箇所を押しながら、カウルトップカバー表面側にフロントウオッシャーノズル(1)を取り外す。

Прокладка шланга омывателя Система омывателя переднего стеклоочистителя

Информация о материале
Категория: Стеклоочистители, омыватели, сигнал

маршрут шланга омывателя


SKIB7920J.JPG
📄 Открыть схему SKIB7920J.PDF

Регулировка положения распыления форсунок переднего омывателя Система омывателя передних стеклоочистителей

Информация о материале
Категория: Стеклоочистители, омыватели, сигнал

Регулировка положения распыления форсунки переднего омывателя


図の噴射位置に合わせる。


JPMIA1033ZZ.JPG
📄 Открыть схему JPMIA1033ZZ.PDF


1.
黒色プリント端末延長線





: 噴射範囲





: 噴射目標






(単位:mm)
噴射点
H(高さ)
L(横幅)
X
Y
S
A
262
305
80
205
102.5
B
276
107
80
140
70
C
263
111
80
163
81.5
D
285
399
80
155
77.5


噴射位置は、噴射孔(A)に針(B)等を差し込み調整する。

SKIB7924J.JPG

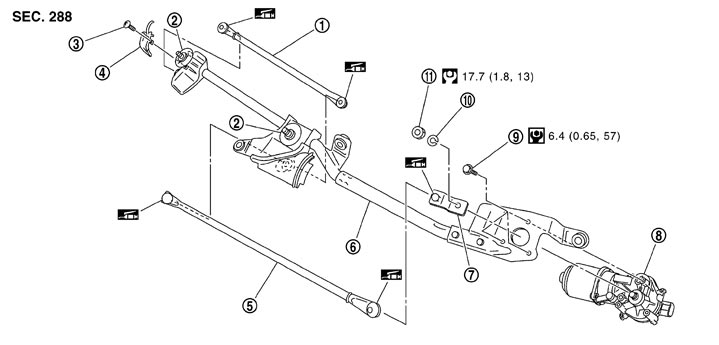
Разборка и сборка привода переднего стеклоочистителя в сборе Передняя система стеклоочистителя/омывателя

Информация о материале
Категория: Стеклоочистители, омыватели, сигнал

Разборка и сборка привода переднего стеклоочистителя в сборе.



SKIB7918J.JPG
📄 Открыть схему SKIB7918J.PDF


1.
ワイパーリンク2
2.
シャフトシール
3.
樹脂カバー取付スクリュー
4.
樹脂カバー
5.
ワイパーリンク1
6.
ワイパーフレーム
7.
モーターアーム
8.
ワイパーモーター
9.
ワイパーモーター取付ボルト
10.
スプリングワッシャー
11.
モーターアーム取付ナット



: N·m(kg‐m, in‐lb)





: N·m(kg‐m, ft‐lb)





: ニッサンMPスペシャルグリースNo.2



 
 分解

    1.スクリューを外し、ボールジョイント部の樹脂カバーを取り外す。
    2.フロントワイパードライブASSYからワイパーリンク1、及び2を取り外す。
    ■ 注意 ■
    ワイパーリンクを取り外すときは、リンクを曲げたり、ボールジョイントの樹脂部を損傷しないよう注意すること。
    3.モーターアーム取付ナットを外し、ワイパーモーターからモーターアームを取り外す。
    4.ワイパーモーター取付ボルトを外し、ワイパーフレームからワイパーモーターを取り外す。
 
 組み立て

    1.ワイパーモーターコネクターを接続する。ワイパースイッチをONにし、ワイパーモーターを作動させてからワイパースイッチをOFF(オートストップ)にする。
    2.ワイパーモーターコネクターを外す。
    3.ワイパーモーターをワイパーフレームに取り付ける。
    4.モーターアームをワイパーモーターに取り付け、ワイパーリンク1をモーターアーム、及びワイパーフレームに取り付ける。
    PKIC8316J.JPG
    ■ 注意 ■
    ワイパーモーターの状態を、オートストップ位置にしてから、ワイパーリンク1、モーターアームの合いマーク、及びワイパーフレームの合いマーク(中央)が一直線になるように取り付ける。
    5.ワイパーリンク2をワイパーフレームに取り付ける。
    6.ボールジョイント部の樹脂カバーを取り付ける。
    ■ 注意 ■
    • ワイパーモーターを落下させたり、他部品と干渉させないこと。
    • モーターアームとワイパーリンクのかん合部(リテーナー部)のグリース状態に注意し、必要に応じてグリースを塗布すること。
    • ニッサンMPスペシャルグリースNo.2(KRB00‐12025)

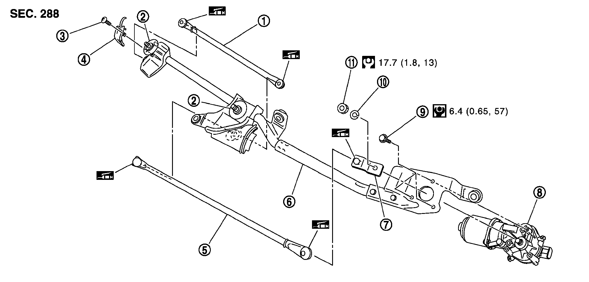
Снятие и установка привода переднего стеклоочистителя. Система переднего стеклоочистителя/омывателя.

Информация о материале
Категория: Стеклоочистители, омыватели, сигнал

Снятие и установка привода переднего стеклоочистителя в сборе.

 
 取り外し

    1.フロントワイパーアームを取り外す。フロントワイパーアームの取り外し、取り付け、及び停止位置調整を参照。
    2.カウルトップカバーを取り外す。カウルトップを参照。
    3.フロントワイパードライブASSY取付ボルト(A)を外す。
    SKIB7917J.JPG
    4.フロントワイパーモーターコネクターを外し、フロントワイパードライブASSY(1)を車両より取り外す。
 
 取り付け

    1.フロントワイパードライブASSYを車両に取り付ける。
    フロントワイパードライブASSY取付ボルト

    :4.5 N·m(0.46 kg‐m)

    2.フロントワイパーモーターコネクターを接続する。フロントワイパースイッチをONにし、フロントワイパーモーターを作動させてからフロントワイパースイッチをOFF(オートストップ)にする。
    3.カウルトップカバーを取り付ける。カウルトップを参照。
    4.フロントワイパーアーム、及びアームキャップを取り付ける。フロントワイパーアームの取り外し、取り付け、及び停止位置調整を参照。
  1. Снятие, установка рычага переднего стеклоочистителя и регулировка положения остановки Передняя система стеклоочистителя/омывателя
  2. Система передних стеклоочистителей/омывателей, которая устраняет вибрацию
  3. Проверка сигнала автоматической остановки передних стеклоочистителей Система передних стеклоочистителей/омывателей
  4. Проверка работы переднего стеклоочистителя Передняя система стеклоочистителя/омывателя

Подкатегории

Nissan Wingroad Y12: полное руководство по ремонту и обслуживанию на русском языке

Общая информация

Общая информация

Двигатель

Выхлопная система

Двигатель механическая часть

Система охлаждения

Система смазки

Система управления двигателем

Топливная система

Управление акселератором

Трансмиссия

Автоматическая коробка передач (A/T)

Вариатор (CVT)

Привод и мосты

Задний мост и приводные валы

Передний мост и приводные валы

Электрический привод колес

Подвеска

Задняя подвеска

Колеса и шины

Передняя подвеска

Тормоза

Система управления тормозами

Стояночный тормоз

Тормозная система

Рулевое управление

Гидроусилитель руля

Система управления рулевым механизмом

Системы защиты пассажиров

Подушки безопасности SRS

Ремни безопасности

Кузов

Кузов, замки, безопасность

Приборная панель

Сиденья

Стекла, окна, зеркала

Экстерьер и интерьер

Кондиционирование

Автоматический кондиционер

Ручной кондиционер

Электрооборудование

Аудио-визуальная система

Информационная система водителя

Питание, заземление, электрические компоненты

Сеть LAN (CAN)

Система запуска и зарядки

Система освещения

Система управления кузовом

Стеклоочистители, омыватели, сигнал

Страница 890 из 894

  • 885
  • 886
  • 887
  • 888
  • 889
  • 890
  • 891
  • 892
  • 893
  • 894

© 2012- Поддержка и продвижение JediG: Joomla + REST API + Python
Отдых в горах на море в селе Сукко в 12 км от Анапы- подбор аренды


Японские автомобили от японского дилера без третьих лиц! Общение на русском! ePN