Снятие и установка

 
 構成図


SDIA3493J.JPG

1.
ウオーターチューブASSY
2.
クランプ
3.
ウオーターホース
4.
パワーケーブル
5.
ジェネレーター
6.
アイドラープーリー
7.
アイドラープーリー
8.
ブラケット
9.
ヒートインシュレーター
イラスト内のシンボルマークについては、GIセクション部品構成図内で使用している記号一覧を参照する。

 
 取り外し

    1.バッテリーのマイナス端子を取り外す。
    2.ジェネレーター(B端子)のナットを外し、パワーケーブルを取り外す。
    3.冷却水を抜き取る。抜き取り、注入を参照する。
    ■ 注意 ■
    冷却水温が十分下がった状態で行うこと。
    ■ 警告 ■
    エンジンが熱いとき、ラジエーターキャップやドレーンプラグを開けないこと。熱湯が噴き出し重大な傷害につながる恐れがある。
    4.右側フロントドライブシャフトを取り外す。取り外し、取り付け(HR15DE:左側及び右側、 MR18DE:左側)を参照する。
    5.補機ベルト及びアイドラープーリーを取り外す。取り外し、取り付けを参照する。
    6.ジェネレーターからウオーターホースを取り外す。
    7.ジェネレーターコネクターを外す。
    8.ヒートインシュレーター、ウオーターホース、及びウオーターチューブASSYを取り外す。
    SDIA2934J.JPG
    9.ジェネレーターの取付ボルトを取り外す。
    10.スタンド等を用いて、エンジンASSY及びトランスアクスルASSYを支える。
    SDIA3494J.JPG
    ■ 注意 ■
    スタンド等をセットするときには、オイルパン及びドレーンプラグに当てないこと。
    11.リヤトルクロッドの取付ボルトを取り外す。車両からの脱着を参照する。
    12.スタンド等を用いて、エンジンASSY及びトランスアクスルASSYを少し上げる。
    ■ 注意 ■
    ラジエーター及びクーリングファンASSYに損傷を与えないこと。
    13.ブラケットよりジェネレーターを取り外す。
    14.エンジンよりブラケットを取り外す。
 
 取り付け

下記の作業に注意し取り外しの逆の手順で行う。
  • 締付トルクは、「構成図」を参照する。
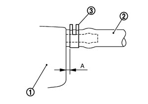
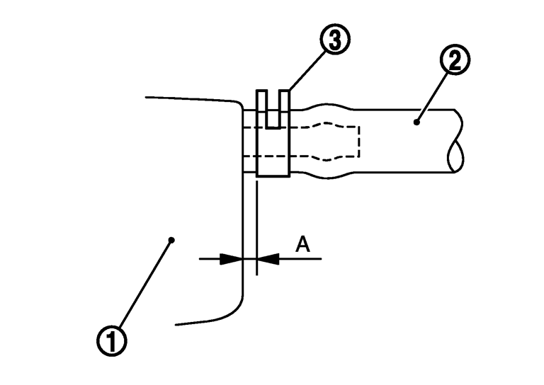
  • ジェネレーター(1)にウオーターホース(2)を取り付けるときのクランプ(3)位置は、下記の寸法とする。
    SDIA3495J.JPG

    寸法A
    :3 – 7 mm

    ■ 注意 ■
    • クランプの取付位置を確認すること。
    • クランプを取付後、他部品と干渉がないこと。

  • 取付後は、冷却水の漏れ及び水量を点検する。点検を参照する。