Снятие и установка
構成図|
1. |
トランスアクスルASSY |
2. |
サイドオイルシール(左側) |
3. |
サイドオイルシール(右側) |
|
イラスト内のシンボルマークについては、GIセクション部品構成図内で使用している記号一覧を参照する。 |
|||||
|
下記シンボルマークについては、指定フルードを使用する。 |
|||||
|
|
:ニッサンマチックフルードJ |
|
|
|
|
取り外し- 1.左右フロントドライブシャフトを取り外す。取り外し、取り付け(HR15DE:左側及び右側、 MR18DE:左側)を参照する。
■ 注意 ■
サイドオイルシールを取り外す際は、トランスアクスルケース面及びコンバーターハウジング面に傷を付けないこと。
取り付け下記の作業に注意し、取り外しの逆の手順で行う。
■ 注意 ■
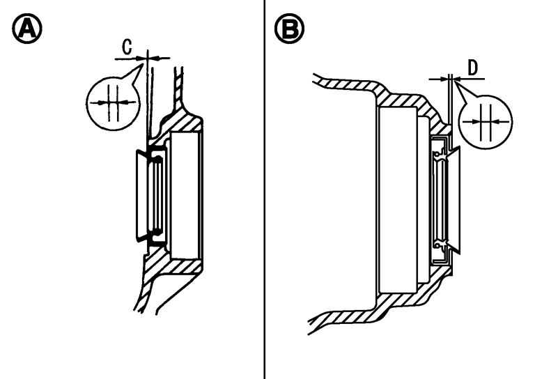
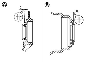
サイドオイルシールは再使用不可部品のため、再使用しないこと。- トランスアクスルケース側(A)
- コンバーターハウジング側(B)
- サイドオイルシールのリップ部及び外周面にニッサンマチックフルードJを塗布し、ドリフト(特殊工具)を用いて、ケース端面よりサイドオイルシール突き出し量がC及びD寸法になるようにまっすぐ打ち込む。
C寸法 :ケース端面との段差0 ± 0.5 mm以内 D寸法 :ケース端面との段差1.1 ± 0.5 mm以内 参考:オイルシールが引っ込む方向を基準とする。
使用ドリフト部位 特殊工具 トランスアクスルケース側(A) ST35325000
KV31103000コンバーターハウジング側(B) KV40104730 - 作業終了後はA/Tフルード漏れ及び量の点検を行う。点検を参照する。