Отсоединение от автомобиля

 
 構成図


JPDIE0091GB.JPG

1.
ファイナルドライブリヤメンバー
2.
ワッシャー
3.
ファイナルドライブASSY
4.
コネクターブラケット
5.
ファイナルドライブフロントメンバー
6.
ファイナルドライブブラケット






イラスト内のシンボルマークについては、GIセクション部品構成図内で使用している記号一覧を参照する。

 
 取り外し

    1.バッテリーのマイナス端子を取り外す。
    2.e·4WDモーターコネクター(1)、e·4WDクラッチ中間コネクター(2)、及びe·4WDモーター回転センサーコネクター(3)を外し、コネクターブラケット(4)よりクリップ(5)を取り外す。
    SDIA3505J.JPG
    :車両フロント
    3.エアブリーザーホース(1)及びクリップ(2)を取り外す。
    SDIA3506J.JPG
    :車両フロント
    4.e·4WDモーターのアース端子(1)を外し、クリップ(2)を取り外す。
    SDIA3227J.JPG
    :車両フロント
    5.ジャンクションボックスよりジャンクションボックス(e·4WDモーター)コネクター(3)を外し、クリップ(4)を取り外す。
    6.ファイナルドライブのアース端子(1)を取り外す。
    SDIA3507J.JPG
    :車両フロント
    7.ファイナルドライブをジャッキ等で支える。
    ■ 注意 ■
    e·4WDモーターにジャッキ等を当てないこと。
    8.ファイナルドライブフロントメンバー及びファイナルドライブリヤメンバーの取付ボルトを取り外す。
    9.ファイナルドライブリヤメンバーよりワッシャーを取り外す。
    10.左右のリヤドライブシャフトを取り外す。取り外し、取り付けを参照する。
    11.車両よりファイナルドライブASSYをファイナルドライブフロントメンバー及びファイナルドライブリヤメンバーと共に取り外す。
    ■ 注意 ■
    ブレーキホース及びブレーキチューブに損傷を与えないこと。
    12.コネクターブラケットよりジャンクションボックス(e·4WDモーター)コネクター、e·4WDクラッチ中間コネクター、e·4WDモーター回転センサーコネクター、及びクリップを取り外す。
    13.ファイナルドライブフロントメンバーを外し、コネクターブラケット及びファイナルドライブブラケットを取り外す。
    14.ファイナルドライブリヤメンバーを取り外す。
 
 取り付け

下記の作業に注意し、取り外しの逆の手順で行う。
  • 締付トルクは、「構成図」を参照する。
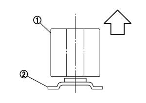
  • ファイナルドライブリヤメンバー(1)をファイナルドライブASSY(2)に取り付けるときは、ファイナルドライブリヤメンバーの向きを確認し図のように取り付ける。
    SDIA3508J.JPG

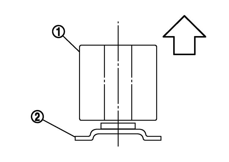
  • ファイナルドライブリヤメンバー(1)を車両に取り付けるときは、ワッシャー(2)の向きを図のようにして取り付ける。
    SDIA3509J.JPG
    :車両上方
    ■ 注意 ■
    ブレーキホース及びブレーキチューブに損傷を与えないこと。

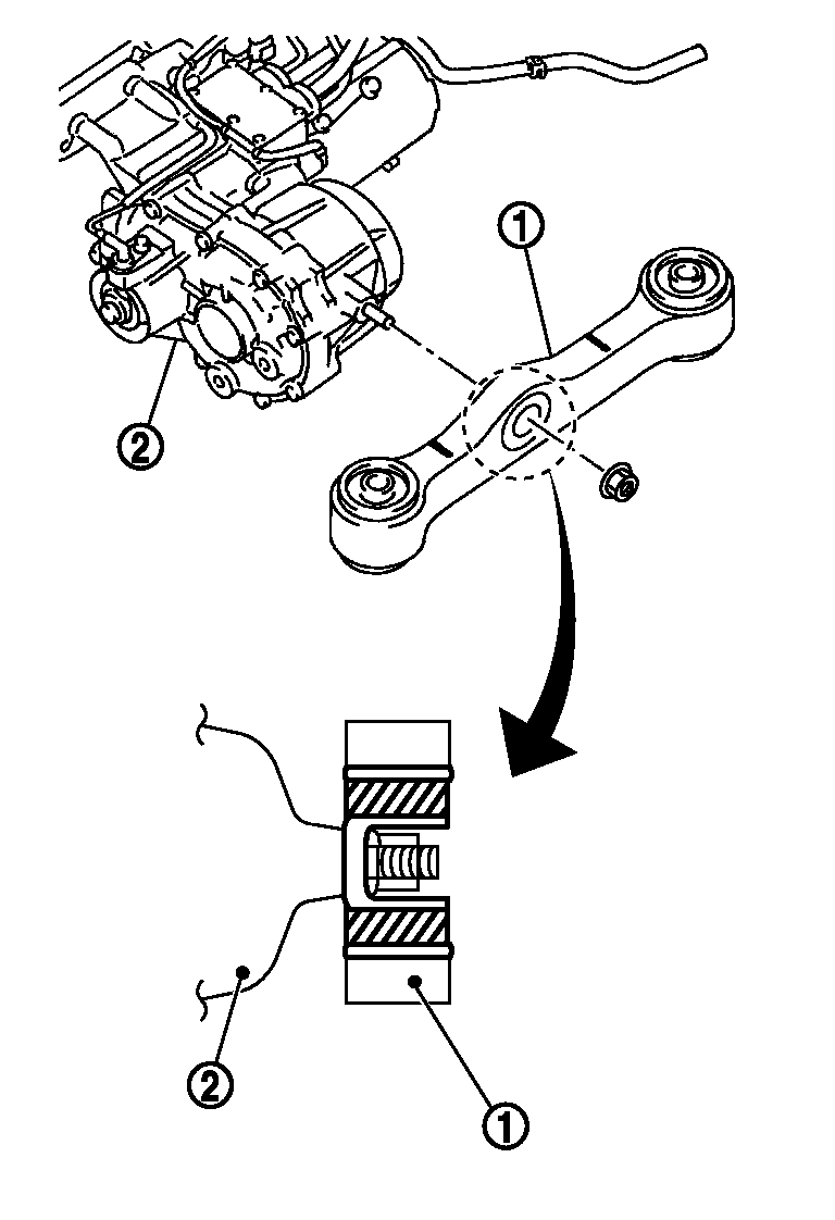
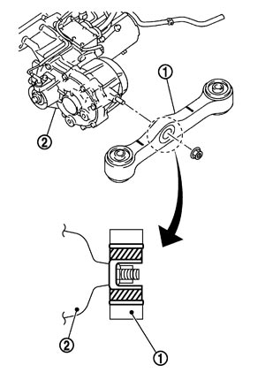
  • ファイナルドライブのアース端子(1)を取り付けるときは、端子のカシメ部(部)を上側にして取り付ける。
    SDIA3510J.JPG
    :車両フロント
  • e·4WDモーターのアース端子(1)を取り付けるときは、端子のカシメ部(部)を上側にして取り付ける。
    SDIA3228J.JPG
    :車両フロント
  • 取付後、フルード漏れ及びフルード量を点検する。点検を参照する。