Разборка, сборка

 
 構成図


SDIA3512J.JPG

1.
スタッドボルト
2.
ギヤキャリヤ(右)
3.
エアブリーザーチューブ
4.
オイルシール
5.
リテーナー
6.
オイルシール
7.
モーター
8.
インプットシャフトベアリング(右)
9.
スプラインハブ
10.
インプットシャフト
11.
インプットシャフトベアリング(左)
12.
スナップリング
13.
ニードルベアリング
14.
スナップリング
15.
マグネット
16.
ディファレンシャルASSY
17.
アジャストシム
18.
ギヤキャリヤ(左)ASSY
19.
センサーローター
20.
ワッシャー
21.
ドレーンプラグ
22.
ガスケット
23.
フィラープラグ
24.
ブラケット
25.
アース
26.
モーター回転センサー
27.
クラッチ中間ハーネス
イラスト内のシンボルマークについては、GIセクション部品構成図内で使用している記号一覧 を参照する。ただし、その他のシンボルマークについては下記を参照する。
:選択部品(パーツカタログ参照)
:ニッサンクラッチグリース又は相当品
:ガスケットフルード1215又は相当品

 
 分解

■ 注意 ■
構成図以外の部品は分解しないこと。
 
 ギヤキャリヤ

    1.e·4WDモーターの取付ボルトを外し、ファイナルドライブASSYよりe·4WDモーターを取り外す。
    SDIA3511J.JPG
    ■ 注意 ■
    • e·4WDモーターハーネスを引っ張らないこと。
    • e·4WDモーターに衝撃を与えないこと。


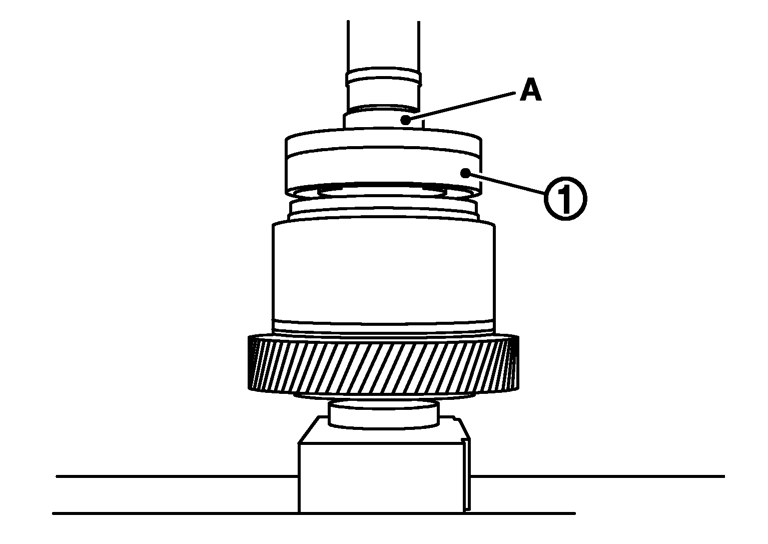
    2.e·4WDモーター回転センサーの取付ボルトを外し、アース、ブラケット、及びe·4WDモーター回転センサー(1)を取り外す。
    SDIA3513J.JPG

    3.e·4WDクラッチコネクター(1)を外し、e·4WDクラッチ中間ハーネス(2)を取り外す。
    SDIA3514J.JPG
    4.e·4WDクラッチコネクター(1)よりリテーナー(3)を取り外す。
    5.ギヤキャリヤの取付ボルトを取り外す。
    SDIA3515J.JPG

    6.ギヤキャリヤ(右)をプラスチックハンマー等で軽打し、ギヤキャリヤ(左)ASSYを取り外す。
    SDIA2958J.JPG
    ■ 注意 ■
    ディファレンシャルASSYの歯面、インプットシャフトの歯面及びセンターシャフトの歯面に損傷を与えないこと。
    7.ギヤキャリヤ(左)ASSYよりアジャストシムを取り外す。
    8.クラッチコネクターをギヤキャリヤに押し込み、ディファレンシャルASSY(1)をギヤキャリヤ(右)より取り外す。
    SDIA3516J.JPG
    ■ 注意 ■
    ディファレンシャルASSYの歯面に損傷を与えないこと。

    9.スナップリングプライヤーを用いて、ギヤキャリヤ(右)よりスナップリング(1)を取り外す。
    SDIA3517J.JPG

    10.ギヤキャリヤ(右)よりインプットシャフトASSY(1)を取り外す。
    SDIA3518J.JPG
    ■ 注意 ■
    インプットシャフトに損傷を与えないこと。

    11.スナップリングプライヤーを用いて、ギヤキャリヤ(右)よりスナップリング(1)を取り外す。
    SDIA3519J.JPG

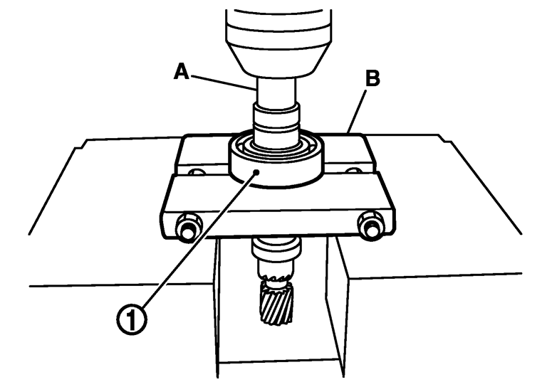
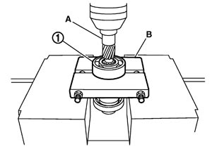
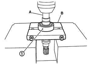
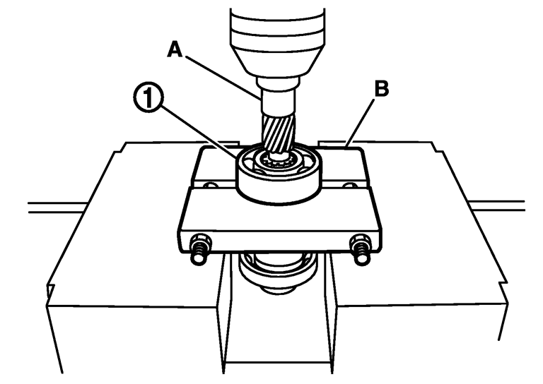
    12.プーラー(汎用工具)(A)を用いて、ギヤキャリヤ(右)よりニードルベアリング(1)を取り外す。
    SDIA3520J.JPG
    ■ 注意 ■
    ギヤキャリヤ(右)に傷を付けないこと。
    参考:
    ニードルベアリングが取り外しにくい場合は、工業用ドライヤー等で付近を温めて(約100℃)行う。

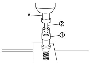
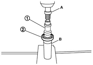
    13.プーラー(特殊工具)を用いて、ギヤキャリヤ(右)よりインプットシャフトのオイルシールを取り外す。
    SDIA3521J.JPG

    特殊工具
    A:KV381054S0

    ■ 注意 ■
    ギヤキャリヤ(右)に傷を付けないこと。

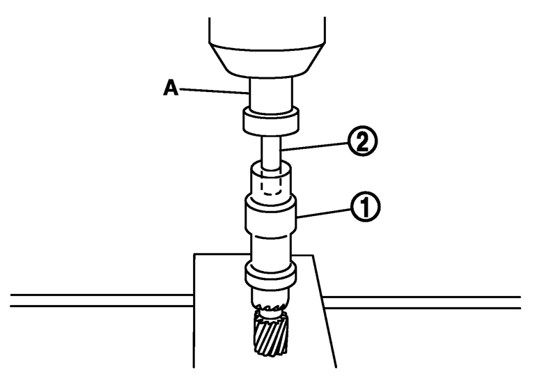
    14.プーラー(特殊工具)を用いて、ギヤキャリヤ(右)よりサイドのオイルシールを取り外す。
    SDIA3522J.JPG

    特殊工具
    A:KV381054S0

    ■ 注意 ■
    ギヤキャリヤ(右)に傷を付けないこと。

    15.プーラー(特殊工具)を用いて、ギヤキャリヤ(左)よりサイドのオイルシールを取り外す。
    SDIA3454J.JPG

    特殊工具
    A:KV381054S0

    ■ 注意 ■
    ギヤキャリヤ(左)に傷を付けないこと。

    16.図のようにセンサーローター(1)に回り止めし、取付ボルトを取り外す。
    SDIA3523J.JPG
    ■ 注意 ■
    センサーローターの歯面に損傷を与えないこと。
    17.ワッシャー及びセンサーローターを取り外す。
    18.スタッドボルトを取り外す。
    19.エアブリーザーチューブを取り外す。
 
 ディファレンシャルASSY

    1.ディファレンシャルASSYをギヤキャリヤより取り外す。「ギヤキャリヤ」を参照する。
    2.プーラー(汎用工具)及びドリフト(特殊工具)を用いて、ディファレンシャルASSY(1)よりマグネット(2)を取り外す。
    SDIA3524J.JPG

    特殊工具
    A:ST33061000

    ■ 注意 ■
    マグネットに損傷及び変形を与えないこと。
 
 インプットシャフトASSY

参考:
スプラインハブはインプットシャフトに圧入され取り外すことができないため、交換する際はインプットシャフト、スプラインハブをセットで交換する。
    1.インプットシャフトASSYをギヤキャリヤより取り外す。「ギヤキャリヤ」を参照する。
    2.ベアリングリプレーサー(特殊工具)及びドリフト(特殊工具)を用いて、インプットシャフトよりインプットシャフトベアリング(左)(1)をプレスにて取り外す。
    SDIA3525J.JPG

    特殊工具
    A:ST33061000
    B:ST22730000


    3.ベアリングリプレーサー(特殊工具)及びドリフト(特殊工具)を用いて、インプットシャフトよりインプットシャフトベアリング(右)(1)をプレスにて取り外す。
    SDIA3526J.JPG

    特殊工具
    A:ST33061000
    B:ST22730000

 
 分解後の点検
 
 e·4WDモーター

下記の項目を点検し、異常がある場合は交換する。
  • e·4WDモーター本体の熱による変色及び変形
  • シャフト部の損傷、はく離、打こん及び曲がり
  • e·4WDモーターの導通:e·4WDモーター参照
 
 ギヤキャリヤ(右)

下記の項目を点検し、異常がある場合は交換する。
  • ベアリングの当たり面に摩耗及び亀裂
 
 ギヤキャリヤ(左)ASSY

下記の項目を点検し、異常がある場合は交換する。
■ 注意 ■
交換するときはギヤキャリヤ(左)ASSYで交換すること。
  • 歯面及びシャフト部の摩耗、割れ、損傷、亀裂、焼き付き等
  • シャフトを回転させたときのゴリ感及びひっかかり
  • ベアリング当たり面の摩耗及び亀裂
 
 インプットシャフト(スプラインハブ)

下記の項目を点検し、異常がある場合は交換する。
■ 注意 ■
交換するときはインプットシャフトとスプラインハブをセットで交換すること。
  • 歯面の摩耗、割れ、損傷、亀裂及び焼き付き等
  • シャフト部の損傷、はく離、打こん及び曲がり
 
 ディファレンシャルASSY

下記の項目を点検し、異常がある場合は交換する。
  • 歯面及びしゅう動部の摩耗、割れ、損傷、亀裂及び焼き付き等
 
 マグネット

下記の項目を点検し、異常がある場合は交換する。
  • 損傷、変形及びハーネスの亀裂
  • クラッチの抵抗値:e·4WDクラッチ参照
 
 センサーローター

下記の項目を点検し、異常がある場合は交換する。
  • 歯面の割れ、損傷及び亀裂等
 
 ベアリング

下記の項目を点検し、異常がある場合は交換する。
  • 焼き付き、はく離、摩耗、さび、手回しの際の引っ掛かり、異音、ゴリ感、その他の損傷
 
 オイルシール

下記の項目を点検し、異常がある場合は交換する。
■ 注意 ■
再使用不可部品のため、取り外し時には必ず交換すること。
  • リップ部の摩耗、緊迫力劣化(リップ部のシール力)、損傷
 
 アジャストシム選択

    1.ディファレンシャルASSYにマグネットを組み付ける。「ディファレンシャルASSY」を参照する。
    2.ギヤキャリヤ(右)(1)の突起部(部)にマグネットの回り止め部を合せ、ディファレンシャルASSY(2)をギヤキャリヤ(右)(1)に取り付ける。
    SDIA3527J.JPG
    ■ 注意 ■
    • ディファレンシャルASSYの歯面に損傷を与えないこと。
    • e·4WDクラッチコネクター及びハーネスに損傷を与えないこと。

    3.e·4WDクラッチコネクターをリテーナーで固定する。
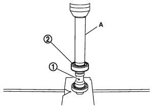
    4.ストレートエッジ及びディプスゲージを用いて、ギヤキャリヤ(右)側の寸法“A”を測定する。
    SDIA1240J.JPG

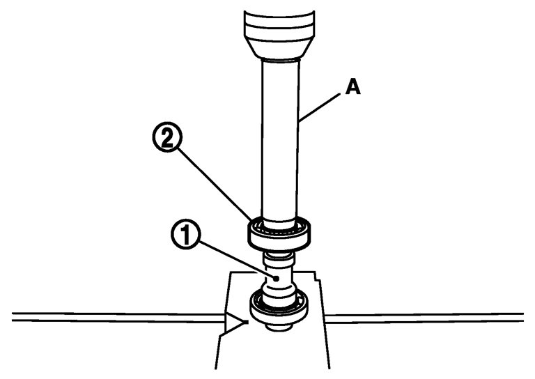
    5.ストレートエッジ及びディプスゲージを用いて、ギヤキャリヤ(左)側の寸法“B”を測定する。
    SDIA1241J.JPG
    6.アジャストシム の厚さを下記式より算出する。(アジャストシムはパーツカタログを参照する。)
    アジャストシムの厚さ
    :B − A − クリアランス
    クリアランス
    :0.03 – 0.09 mm

 
 組み立て
 
 インプットシャフトASSY

    1.ドリフト(特殊工具)を用いて、インプットシャフト(1)にスプラインハブ(2)をインプットシャフト端面と面一となるように取り付ける。
    SDIA3530J.JPG

    特殊工具
    A:ST33061000

    参考:
    インプットシャフト及びスプラインハブを交換するときのみ行なう。

    2.ドリフト(特殊工具)を用いて、インプットシャフト(1)にインプットシャフトベアリング(右)(2)を取り付ける。
    SDIA3531J.JPG

    特殊工具
    A:ST33061000
    B:KV38100130


    3.ドリフト(特殊工具)を用いて、インプットシャフト(1)にインプットシャフトベアリング(左)(2)を取り付ける。
    SDIA3532J.JPG

    特殊工具
    A:ST22360002

    4.インプットシャフトASSYをギヤキャリヤに取り付ける。「ギヤキャリヤ」を参照する。
 
 ディファレンシャルASSY

    1.ドリフト(特殊工具)を用いて、ディファレンシャルASSYにマグネット(1)を取り付ける。
    SDIA3533J.JPG

    特殊工具
    A:ST35300000

    ■ 注意 ■
    マグネットに損傷及び変形を与えないこと。
    2.ディファレンシャルASSYをギヤキャリヤに取り付ける。「ギヤキャリヤ」を参照する。
 
 ギヤキャリヤ

    1.ギヤキャリヤ(右)にエアブリーザーチューブ(1)を取り付ける。
    SDIA3534J.JPG
    ■ 注意 ■
    • ギヤキャリヤ(右)の突起部(部)にエアブリーザーチューブの中心を合せること。
    • エアブリーザーチューブを再使用する場合は、取付面にガスケットフルード1215又は相当品を塗布すること。


    2.ギヤキャリヤ(右)(1)にスタッドボルト(2)を取り付ける。締付トルクは「構成図」を参照する。
    SDIA3535J.JPG
    ■ 注意 ■
    • スタッドボルトの締め付けは円筒部(部)までとすること。
    • スタッドボルトのネジ部が短い方をギヤキャリヤ(右)に取り付けること。

    3.ギヤキャリヤ(左)ASSYにセンサーローター及びワッシャーを取り付ける。
    4.図のようにセンサーローター(1)に回り止めし、取付ボルトを規定トルクで締め付ける。締付トルクは「構成図」を参照する。
    SDIA3523J.JPG
    ■ 注意 ■
    センサーローターの歯面に損傷を与えないこと。

    5.オイルシールのリップ部にニッサンマチックフルードDを塗布し、ドリフト(特殊工具)を用いて、ギヤキャリヤ(左)端面と面一となるようにサイドのオイルシールを取り付ける。
    SDIA3455J.JPG

    特殊工具
    A:ST33400001

    B:KV40105740

    ■ 注意 ■
    • オイルシールは再使用不可部品のため、再使用しないこと。
    • オイルシールは傾かないように取り付けること。


    6.オイルシールのリップ部にニッサンマチックフルードDを塗布し、ドリフト(特殊工具)を用いて、ギヤキャリヤ(右)端面と面一となるようにサイドのオイルシールを取り付ける。
    SDIA3536J.JPG

    特殊工具
    A:ST33400001

    B:KV40105740

    ■ 注意 ■
    • オイルシールは再使用不可部品のため、再使用しないこと。
    • オイルシールは傾かないように取り付けること。


    7.オイルシールのリップ部にニッサンマチックフルードDを塗布し、ドリフト(特殊工具)を用いて、ギヤキャリヤ(右)端面と面一となるようにインプットシャフトのオイルシールを取り付ける。
    SDIA3537J.JPG

    特殊工具
    A:ST33400001

    B:ST19930000

    ■ 注意 ■
    • オイルシールは再使用不可部品のため、再使用しないこと。
    • オイルシールは傾かないように取り付けること。


    8.ドリフト(特殊工具)を用いて、ギヤキャリヤ(右)にニードルベアリング(1)をスナップリングの溝まで取り付ける。
    SDIA3538J.JPG

    特殊工具
    A:ST22360002

    ■ 注意 ■
    ニードルベアリングは再使用不可部品のため、再使用しないこと。

    9.スナップリングプライヤーを用いて、ギヤキャリヤ(右)にスナップリング(1)を取り付ける。
    SDIA3519J.JPG
    ■ 注意 ■
    スナップリングは再使用不可部品のため、再使用しないこと。

    10.ギヤキャリヤ(右)にインプットシャフトASSY(1)を取り付ける。
    SDIA3518J.JPG

    11.スナップリングプライヤーを用いて、ギヤキャリヤ(右)にスナップリング(1)を取り付ける。
    SDIA3517J.JPG
    ■ 注意 ■
    スナップリングは再使用不可部品のため、再使用しないこと。
    12.アジャストシムを選択する。「アジャストシム選択」を参照する。
    13.ギヤキャリヤ(左)ASSYにアジャストシムを組み付ける。
    ■ 注意 ■
    アジャストシム及びギヤキャリヤ(左)ASSYにワセリンを塗布こと。
    14.図のようにギヤキャリヤ(右)の取付面にガスケットフルード1215又は相当品を塗布する。
    SDIA2970J.JPG
    ■ 注意 ■
    取付面に付着した古いシール剤、塗布面及び取付面に付着した水分、油分、異物などは除去すること。
    15.ギヤキャリヤ(右)とギヤキャリヤ(左)ASSYを組み付ける。
    16.ギヤキャリヤの取付ボルトを取り付け、規定トルクで締め付ける。締付トルクは「構成図」を参照する。
    SDIA3515J.JPG

    17.e·4WDクラッチコネクター(1)、e·4WDクラッチ中間ハーネス(2)、及びリテーナー(3)を取り付け、取付ボルトを規定トルクで締め付ける。締付トルクは「構成図」を参照する。
    SDIA3514J.JPG

    18.ギヤキャリヤ(左)ASSYにe·4WDモーター回転センサー(1)を取り付け、ブラケットと共に取付ボルトを規定トルクで締め付ける。締付トルクは「構成図」を参照する。
    SDIA3513J.JPG
    19.ブラケットにアースを接続する。
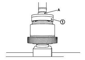
    20.e·4WDモーター(1)のシャフト部(A部)にニッサンクラッチグリース又は相当品を塗布する。
    SDIA3499J.JPG
    ■ 注意 ■
    e·4WDモーターのシャフト部及び挿入部に付着した、古いグリースを取り除くこと。

    21.ファイナルドライブのモーター取付面にガスケットフルード1215又は相当品を塗布する。
    SDIA2941J.JPG
    ■ 注意 ■
    • 取付面に付着した古いシール剤、塗布面及び取付面に付着した水分、油分、異物などは除去すること。
    • ファイナルドライブのスリット部が開口していること。

    22.ファイナルドライブにe·4WDモーターを組み付ける。
    ■ 注意 ■
    • e·4WDモーターとファイナルドライブの接合面のすき間は0.5 mm以下であること。
    • e·4WDモーターを取り付けるときは、ボルトを使用して接合面を合わせないこと。
    • e·4WDモーターのシャフト部に衝撃及び力を加えないこと。
    • e·4WDモーターに衝撃を与えて組み付けないこと。
    • e·4WDモーターのハーネスを引っ張らないこと。

    23.e·4WDモーター取付ボルトを仮締めした後、取付ボルトを下記の基準で締め付ける。
    SDIA2942J.JPG

    締付順序
    1
    2
    3
    4
    ボルト記号
    D
    B
    A
    C
    締付トルク
    45 N·m(4.6 kg-m)