ВИЗАТОР
Новости японской автоиндустрии
Главная
Новости
FAQ
Аукционы
Руководства по ремонту
Nissan Wingroad Y12: полное руководство по ремонту и обслуживанию на русском языке
Вы здесь:
Главная
Руководства по ремонту
Nissan Wingroad Y12: полное руководство по ремонту и обслуживанию на русском языке
Электрооборудование
Система освещения
лампа для карты интерьерная лампа
лампа для карты интерьерная лампа
лампа для карты
■ 注意 ■
作業時は、バッテリのマイナス端子、又は電源ヒューズを取り外すこと。
バルブのガラス面は、直接手で触れたり、油脂類を付着させないこと。
ランプ消灯直後は、高温のため、バルブのガラス面に手を触れないこと。
バルブをランプハウジングから外したままで長い間放置すると、ちり、ほこりなどによりレンズ、リフレクターの性能低下(汚れ、及びくもり等)の原因になるためバルブ交換は、新品バルブを用意してから行うこと。
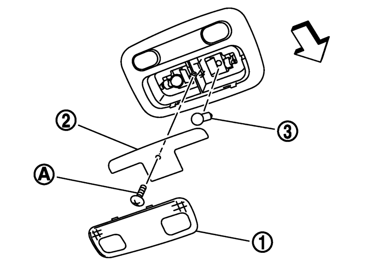
バルブ交換
1.切り欠き部に細いマイナスドライバー等を差し込み、レンズ(1)を取り外す。
:車両前方
2.スクリュー(A)を外し、シェード(2)を取り外す。
3.バルブ(3)を取り外す。
取り外し、取り付け
取り外し
1.クリップドライバー等を使用して、マップランプ(1)のメタルクリップ部(A)を押し、取り外す。
2.コネクターを外し、マップランプ(1)を取り外す。
取り付け
取り付けは、取り外しの逆の手順で行う。
Предыдущий: Схема подключения — int/l — плафон освещения салона
Назад
Следующий: Лампа в багажном отделении, лампа в салоне
Вперед