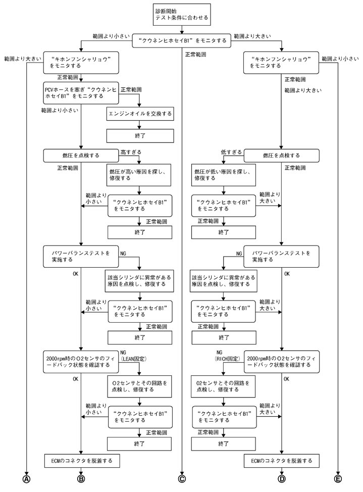
Процедура диагностики неисправности

 
 故障診断要領の要約
 
 故障診断要領の詳細

 
 1.“クウネンヒホセイB1”のモニタ
  1. エンジンを始動する。
  2. 指定されたテスト条件に合わせる。
  3. “データモニタ”モードの“参考値”で“クウネンヒホセイB1”をモニタし、網掛けの範囲内にあるか確認する。
    参考:
    “クウネンヒホセイB1”は変動するので、約1分間モニタする。その間、少しでも外れていればNGである。
点検結果

OK>>17へ

NG-1>>範囲より小さい:2へ

NG-2>>範囲より大きい:3へ

 
 2.“キホンフンシャリョウ”のモニタ
“データモニタ”モードの“参考値”で“キホンフンシャリョウ”をモニタし、網掛けの範囲内にあるか確認する。
点検結果

OK>>4へ

NG>>範囲より大きい:19へ

 
 3.“キホンフンシャリョウ”のモニタ
“データモニタ”モードの“参考値”で“キホンフンシャリョウ”をモニタし、網掛けの範囲内にあるか確認する。
点検結果

OK>>6へ

NG-1>>範囲より大きい:6へ

NG-2>>範囲より小さい:25へ

 
 4.“クウネンヒホセイB1”のモニタ
  1. エンジンを停止する。
  2. PCVホースを外し、栓をする。
  3. エンジンを始動する。
  4. “データモニタ”モードの“参考値”で“クウネンヒホセイB1”をモニタし、網掛けの範囲内にあるか確認する。
点検結果

OK>>5へ

NG>>6へ

 
 5.エンジンオイルの交換
  1. エンジンを停止する。
  2. エンジンオイルを交換する。
    参考:
    使用条件(冬場などに、1回の走行距離が短く、エンジンオイル温度が十分に上がらないとき等)によりエンジンオイルにガソリン成分が多量に発生した場合に発生しやすい。
    エンジンオイル交換、または使用条件が変われば直る。


>>点検終了

 
 6.燃圧測定
燃圧を測定する。(燃圧点検参照。)
点検結果

OK>>9へ

NG-1>>燃圧が高すぎる:プレッシャレギュレータを交換し、8へ

NG-2>>燃圧が低すぎる:7へ

 
 7.不具合箇所の検出
  1. 下記項目を点検する。
    • フューエルホースとフューエルチューブの詰まり、曲がり
    • フューエルフィルタの詰まり
    • フューエルポンプとその回路(故障診断要領参照。)
  2. 上記項目に異常のない場合はプレッシャレギュレータを交換する。

>> 8へ

 
 8.“クウネンヒホセイB1”のモニタ
  1. エンジンを始動する。
  2. “データモニタ”モードの“参考値”で“クウネンヒホセイB1”をモニタし、網掛けの範囲内にあるか確認する。
点検結果

OK>>点検終了

NG>>9へ

 
 9.パワーバランステストの実施
  1. “アクティブテスト”モードで“パワーバランス”を実施する。
  2. 瞬間的なエンジン回転数の低下を生じないシリンダがないことを確認する。
点検結果

OK>>12へ

NG>>10へ

 
 10.不具合箇所の検出
  1. 下記項目を点検する。
  2. 上記項目に異常がない場合はフューエルインジェクタを交換する。(フューエルインジェクタからの漏れ、または詰まりと推定される。)

>> 11へ

 
 11.“クウネンヒホセイB1”のモニタ
  1. エンジンを始動する。
  2. “データモニタ”モードの“参考値”で“クウネンヒホセイB1”をモニタし、網掛けの範囲内にあるか確認する。
点検結果

OK>>点検終了

NG>>12へ

 
 12.O2センサフィードバック状態の点検
  1. “データモニタ”モードで“O2センサ1モニタB1”を選択する。
  2. エンジン回転数を約2,000 rpm 一定にしたとき10 秒間に5 回以上“RICH”と“LEAN”が交互に表示することを確認する。
点検結果

OK>>15へ

NG>>13へ

 
 13.O2センサ1回路の点検
O2センサ1とその回路を点検する。(故障診断要領参照。)

>>14へ

 
 14.“クウネンヒホセイB1”のモニタ
  1. エンジンを始動する。
  2. “データモニタ”モードの“参考値”で“クウネンヒホセイB1”をモニタし、網掛けの範囲内にあるか確認する。
点検結果

OK>>点検終了

NG>>15へ

 
 15.ECMコネクタの脱着
  1. エンジンを停止する。
  2. ECMのコネクタを外し、ピン、コネクタに損傷がないことを確認し、再度接続する。

>> 16へ

 
 16.“クウネンヒホセイB1”のモニタ
  1. エンジンを始動する。
  2. “データモニタ”モードの“参考値”で“クウネンヒホセイB1”をモニタし、網掛けの範囲内にあるか確認する。
点検結果

OK>>点検終了

NG>>現象別点検表に従って不具合系統を特定する。

 
 17.“キホンフンシャリョウ”のモニタ
“データモニタ”モードの“参考値”で“キホンフンシャリョウ”をモニタし、網掛けの範囲内にあるか確認する。
点検結果

OK>>点検終了

NG-1>>範囲より大きい:18へ

NG-2>>範囲より小さい:25へ

 
 18.不具合箇所の特定
  1. エンジンのフリクションが大きい原因を点検する。下記項目を参照する。
    • エンジンオイルレベルの高すぎ
    • エンジンオイル粘度
    • パワステ、オルタネータ、エアコンコンプレッサ等のベルトの張りすぎ
    • エンジンからの異音
    • トランスミッションからの異音、など
  2. 燃焼不良の原因を点検する。
    • バルブクリアランス異常
    • インテークバルブタイミング制御機能異常
    • カムスプロケット取り付け異常、など
点検結果

>>不具合箇所を修復し、30へ

 
 19.吸気系の点検
インテークエアダクトを通る空気流が偏る原因を点検する。
下記項目を参照する。
  • エアダクト類のつぶれ
  • エアクリーナエレメントのシール不良
  • エアクリーナエレメントの汚れの偏り
  • 吸気系部品の異仕様、など
点検結果

OK>>21へ

NG>>不具合箇所を修復し、20へ

 
 20.“クウネンヒホセイB1”および“キホンフンシャリョウ”のモニタ
“データモニタ”モードの“参考値”で“クウネンヒホセイB1”および“キホンフンシャリョウ”をモニタし、網掛けの範囲内にあるか確認する。
点検結果

OK>>点検終了

NG>>“キホンフンシャリョウ”が大きい、“クウネンヒホセイB1”が小さい:21へ

 
 21.エアフローセンサのコネクタの脱着
  1. エンジンを停止する。
  2. エアフローセンサのコネクタを外し、ピン、コネクタに損傷がないことを確認し、再度接続する。

>> 22へ

 
 22.“クウネンヒホセイB1”のモニタ
  1. エンジンを始動する。
  2. “データモニタ”モードの“参考値”で“クウネンヒホセイB1”をモニタし、網掛けの範囲内にあるか確認する。
点検結果

OK>>ハーネスまたはコネクタの不具合箇所を探して修復し、29へ

NG>>23へ

 
 23.“エアフローセンサB1”のモニタ
“データモニタ”モードの“参考値”で“エアフローセンサB1”をモニタし、網掛けの範囲内にあるか確認する。
点検結果

OK>>24

NG>>範囲より大きい:エアフローセンサを交換し、29へ

 
 24.ECMの交換
  1. ECMを交換する。
  2. 「アクセルペダル全閉位置学習」を実施する。(点検、学習手順を参照する。)
  3. 「スロットル全閉位置学習」を実施する。(点検、学習手順を参照する。)
  4. 「アイドル吸入空気量学習」を実施する。(点検、学習手順を参照する。)

>> 29へ

 
 25.吸気系の点検
インテークエアダクトを通る空気流が偏る原因を点検する。
下記項目を参照する。
  • エアダクト類のつぶれ
  • エアクリーナエレメントのシール不良
  • エアクリーナエレメントの汚れの偏り
  • 吸気系部品の異仕様、など
点検結果

OK>>27へ

NG>>不具合箇所を修復し、26へ

 
 26.“キホンフンシャリョウ”のモニタ
“データモニタ”モードの“参考値”で“キホンフンシャリョウ”をモニタし、網掛けの範囲内にあるか確認する。
点検結果

OK>>点検終了

NG>>範囲より小さい:27へ

 
 27.“エアフローセンサB1”のモニタ
“データモニタ”モードの“参考値”で“エアフローセンサB1”をモニタし、網掛けの範囲内にあるか確認する。
点検結果

OK>>28

NG>>範囲より小さい:エアフローセンサを交換し、30へ

 
 28.吸気系の点検
エアフローセンサ下流のエア吸い込み原因を点検する。
下記項目を参照する。
  • エアダクトの外れ、緩み、亀裂
  • オイルフィラキャップの緩み
  • オイルレベルゲージの抜け
  • PCVバルブの開固着、破損、ホースの外れ、亀裂
  • EVAPパージホースの外れ、亀裂、EVAPパージコントロールソレノイドバルブの開固着
  • ロッカカバーガスケットのシール不良
  • 吸気系部品に接続しているバキュームホース類の外れ、緩み、亀裂
  • 吸気系部品ガスケットのシール不良、など

>>30へ

 
 29.“クウネンヒホセイB1”および“キホンフンシャリョウ”のモニタ
“データモニタ”モードの“参考値”で“クウネンヒホセイB1”および“キホンフンシャリョウ”をモニタし、網掛けの範囲内にあるか確認する。
点検結果

OK>>点検終了

NG>>現象別点検表に従って不具合系統を特定する。

 
 30.“キホンフンシャリョウ”のモニタ
“データモニタ”モードの“参考値”で“キホンフンシャリョウ”をモニタし、網掛けの範囲内にあるか確認する。
点検結果

OK>>点検終了

NG>>現象別点検表に従って不具合系統を特定する。