Снятие и установка
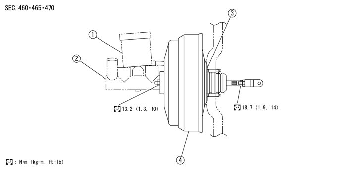
構成図
付帯作業- マスターシリンダー脱着: 取り外し、取り付け参照
- ブレーキペダルASSY取付ナット脱着: 取り外し、取り付け参照
- エアコン低圧ホース固定ブラケット脱着:低圧フレキシブルホースの取り外し、取り付け(オ−トエアコンディショナ−車)、低圧フレキシブルホースの取り外し、取り付け(マニュアルエアコンディショナ−車)参照
ポイント取り外し、取り付けは、下記の作業に注意して行う。
■ 注意 ■
- ブレーキブースターの脱着作業中は、ブレーキ配管を変形させたり曲げたりしないこと。
- ブレーキブースターのスタッドボルトのネジ山をつぶさないこと。斜めに取り付けるとダッシュパネルでネジ山を損傷させるおそれがある。
取外後の点検
アウトプットロッド長さの点検