ВИЗАТОР
Новости японской автоиндустрии
Главная
Новости
FAQ
Аукционы
Руководства по ремонту
Nissan Wingroad Y12: полное руководство по ремонту и обслуживанию на русском языке
Вы здесь:
Главная
Руководства по ремонту
Nissan Wingroad Y12: полное руководство по ремонту и обслуживанию на русском языке
Кузов
Приборная панель
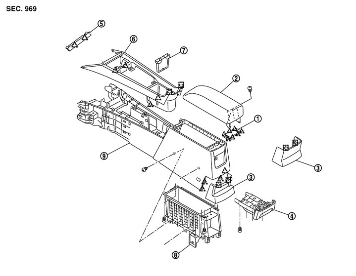
Схема конфигурации центральной консоли в сборе
Схема конфигурации центральной консоли в сборе
Схема конфигурации
📄
Открыть схему PIIB7616J.PDF
1.
コンソールマスク
2.
コンソールリッド
3.
リヤコンソールフィニッシャー
4.
カップホルダー
5.
アシュトレイフィニッシャー
6.
コンソールフィニッシャー
7.
しきり板
8.
コンソールボックス
9.
センターコンソール
: 樹脂爪
: メタルクリップ
Предыдущий: Приборы для снятия и установки в сборе перчаточного ящика
Назад
Следующий: Снятие и установка центральной консоли в сборе
Вперед