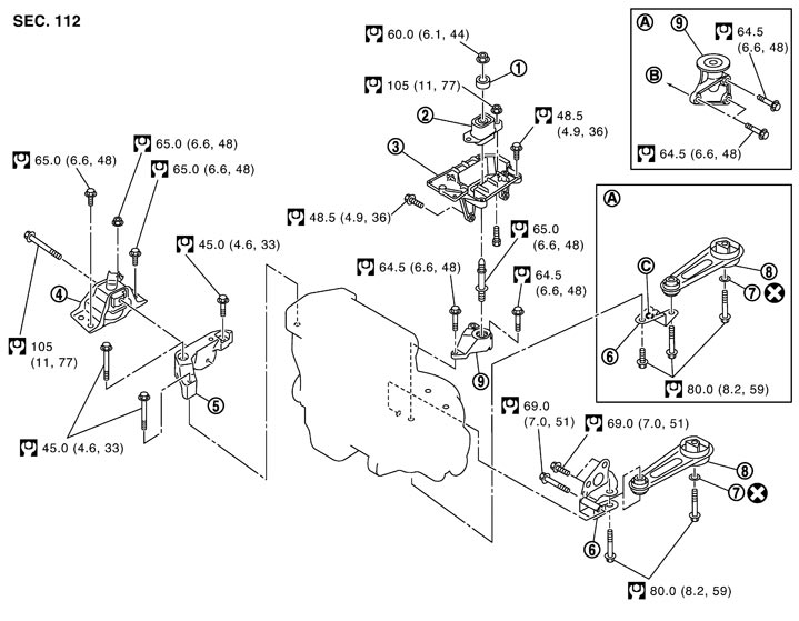
Схема конфигурации



JPBIA1903GB.JPG

1.
マスダンパー(CVT)
2.
左エンジンマウントインシュレーター
3.
左エンジンマウントブラケット(車両側)
4.
右エンジンマウントインシュレーター
5.
右エンジンマウントブラケット
6.
リヤエンジンマウントブラケット
7.
ワッシャー
8.
リヤトルクロッド
9.
左エンジンマウントブラケット(トランスアクスル側)
A.
CVT
B.
トランスアクスル左側面へ
C.
フロントマーク

  • 構成図内のシンボルマークについては、GI編構成図の見方 を参照する。