Снятие и установка охладителя жидкости CVT

 
 取り外し

    1.エアダクト(外気導入側)を取り外す。構成図を参照する。
    2.ホースクランプを外し、CVT フルードクーラーホースAを取り外す。
    3.ホースクランプを外し、CVT フルードクーラーホースBを取り外す。
    4.CVT フルードクーラーチューブA及びCVT フルードクーラーチューブBを取り外す。
 
 取り付け

下記の作業に注意し、取り外しの逆の手順で行う。

JPDIA0698ZZ.JPG
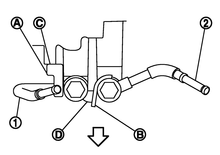
  • CVTフルードクーラーチューブ(1)、(2)をトランスアクスルASSY に組み付ける際は、CVT フルードクーラーチューブのまわり止め(A)、(B)をトランスアクスルケース(C)、(D)に当てて組み付ける。

    :車両前方



CVTフルードクーラーホース
ホースエンド
ペイントマーク
ホースクランプのツメの向き
CVTフルードクーラーホースA
CVTフルードクーラーチューブ側
車両前方
A
CVTオイルウオーマー側
車両前方
A
CVTフルードクーラーホースB
CVTオイルウオーマー側
車両前方
A
CVTフルードクーラーチューブ側
車両前方
A
注:ホースクランプのツメの向きについてはイラストを参照。

  • イラストはホースエンドから見た状態を表している。
    JPDIA0675ZZ.JPG


    B:車両前方

  • ホースクランプを取り付ける際は、ツメの中心を図のようにすること。
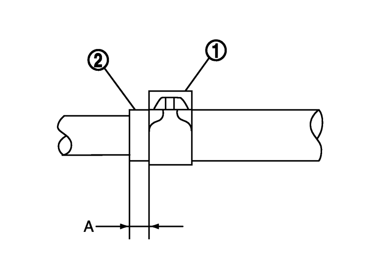
  • CVTフルードクーラーホースの挿入量(A)は下記表を参照する。
    SCIA7203E.JPG

    (1)
    (2)
    挿入量(A)
    CVTフルードクーラーホースA
    CVTフルードクーラーチューブ側
    33 mm
    CVTオイルウオーマー側
    30 mm
    CVTフルードクーラーホースB
    CVTオイルウオーマー側
    30 mm
    CVTフルードクーラーチューブ側
    33 mm


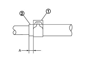
  • ホースクランプ(1)をCVTフルードクーラーホース(2)に取り付ける際は、下記挿入量(A)を参照する。
    SCIA8123E.JPG

    A寸法
    :5 - 7 mm

  • ホースクランプがバルジ上に乗り上げないこと。