Снятие и установка

 
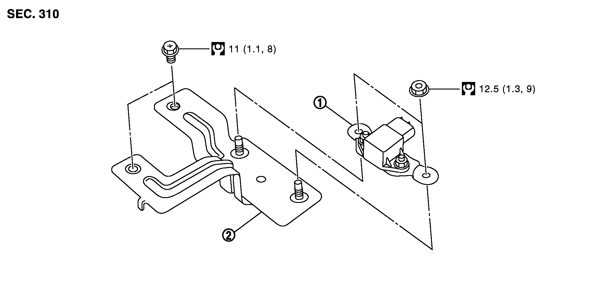
 構成図


SCIA8339J.JPG

1.
Gセンサー
2.
ブラケット


イラスト内のシンボルマークについては、GIセクション部品構成図内で使用している記号一覧を参照する。

■ 注意 ■
  • Gセンサーを取り外し又は交換した場合は、Gセンサーのキャリブレーションを行うこと。Gセンサー脱着、交換、CVT C/U又はECM交換後の作業を参照する。
  • Gセンサーは衝撃に弱いため、落下させたりぶつけたりしないこと。
  • Gセンサーに衝撃を加えないために、エアーツール等は使用しないこと。

 
 取り外し

    1.バッテリーマイナス端子を取り外す。バッテリーの取り外し、取り付けを参照する。
    2.助手席シートを取り外す。取り外し、取り付けを参照する。
    3.センターピラーロアガーニッシュ及びダッシュサイドフィニッシャーを取り外す。ボディーサイドトリムを参照する。
    4.フロアカーペットをめくる。取り外し、取り付けを参照する。
    5.Gセンサーコネクター(A)を取り外す。
    SCIA8340J.JPG


    :車両前方

    6.Gセンサー取付ナット(B)を外し、Gセンサー(1)を取り外す。
    7.ブラケット取付ボルト(C)を外し、ブラケット(2)を取り外す。
 
 取り付け

各締付トルクについては「構成図」を参照し、取り外しの逆の手順で行う。