Снятие и установка

 
 構成図


SCIA8345J.JPG

1.
サイドオイルシール(右側)
2.
サイドオイルシール(左側)
3.
トランスアクスルASSY
イラスト内のシンボルマークについては、GIセクション部品構成図内で使用している記号一覧を参照する。
下記シンボルマークについては、指定フルードを使用する。

:ニッサンCVTフルードNS-2





 
 取り外し

    1.左右フロントドライブシャフトをトランスアクスルASSYより取り外す。取り外し、取り付け(HR15DE:左側及び右側、 MR18DE:左側)を参照する。
    2.マイナスドライバー等を用いて、サイドオイルシールを取り外す。
    SCIA4078J.JPG
    ■ 注意 ■
    サイドオイルシールを取り外す際に、トランスアクスルケース及びコンバーターハウジングのサイドオイルシール取付面に傷を付けないこと。
 
 取り付け

下記の作業に注意し、取り外しの逆の手順で行う。
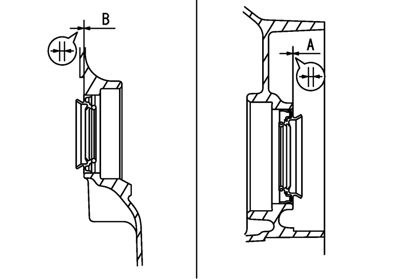
  • サイドオイルシールのリップ部及び外周面にニッサンCVTフルードNS-2を塗布し、ドリフト(特殊工具)を用いて、ケース端面よりサイドオイルシール取付寸法がA及びB寸法になるようにまっすぐ打ち込む。
    SCIA4076J.JPG
    ■ 注意 ■
    サイドオイルシールは再使用不可部品のため、再使用しないこと。

    A寸法
    :ケース端面との段差0 ± 0.5 mm以内
    B寸法
    :ケース端面との段差0 ± 0.5 mm以内
    参考:サイドオイルシールが引っ込む方向を基準とする。



    使用ドリフト
    エンジン型式
    特殊工具
    トランスアクスルケース側(左)
    ST35325000
    KV31103000
    コンバーターハウジング側(右)

  • 作業終了後はCVTフルード量及び漏れの点検を行う。点検 を参照する。