ВИЗАТОР
Новости японской автоиндустрии
Главная
Новости
FAQ
Аукционы
Руководства по ремонту
Nissan Wingroad Y12: полное руководство по ремонту и обслуживанию на русском языке
Вы здесь:
Главная
Руководства по ремонту
Nissan Wingroad Y12: полное руководство по ремонту и обслуживанию на русском языке
Тормоза
Тормозная система
Снятие и установка вакуумных трубок
Снятие и установка вакуумных трубок
Снятие и установка
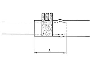
下記作業に注意して行う。
■ 注意 ■
バキュームホースにはチェックバルブが内蔵されているため、取り付けはバキュームホースのスタンプ方向に従い取り付ける。逆に取り付けると、ブレーキブースターが正常に作動しないので、取付方向を間違えないこと。
バキュームホースは、24 mm以上(A寸法)差し込むこと。
組付時、潤滑油は使用しないこと。
Предыдущий: Схема конфигурации вакуумных трубопроводов
Назад
Следующий: осмотр вакуумных трубопроводов
Вперед