Разборка и сборка суппорта в сборе.

 
 ポイント

分解、組み立ての際は、下記の作業に注意して行う。
■ 注意 ■
  • キャリパー及びパッドに付着した粉じんは、集じん機で集め清掃する。エアブローなどで飛散させないこと。
  • ピストン取外時、ピストンに指を挟まれないように注意すること。
  • ピストンシール及びピストンブーツの脱着の際は、シリンダーボディー内面に傷を付けないこと。

参考:
シリンダーボディーのみの分解、組み立てを行う際は、トルクメンバー、パッドリターンスプリング、パッド、シム及びパッドリテーナーを外す必要はない。
  • ピストンを取り外す際、図のように木片等を挟み、ユニオンボルトの取付穴よりエアを吹き込み、ピストンとピストンブーツを取り外す。
    MAA0272D.JPG
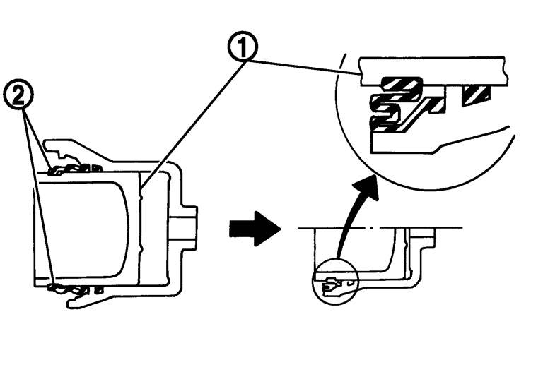
  • ピストン、ピストンシール、ピストンブーツを取り付ける際は、下記の要領で行う。
    1.ピストンシールにニッサンラバールブリカントを塗布してシリンダーボディーに取り付ける。
    2.ピストンブーツにニッサンラバーグリースを、 ピストンにニッサンブレーキフルードNo. 2500を塗布する。ピストン先端部にピストンブーツをかぶせ、ピストンブーツのシリンダー側リップ部をシリンダーボディーの溝に取り付ける。
    3.ピストン(1)をシリンダーボディーに押し込み、ピストンブーツ(2)のピストン側リップ部をピストンの溝に取り付ける。
    PFIA0776J.JPG
    ■ 注意 ■
    ピストンを押し込む際は、ピストンでシリンダー内壁をこじらないように、押す位置を変えながら均一に押し込むこと。
 
 分解後の点検
 
 シリンダーボディー

  • シリンダー内壁にさび、摩耗、損傷がないか点検し、異常がある場合は交換する。
    ■ 注意 ■
    洗浄するときは新しいブレーキフルードを使用し、ガソリン又は灯油のような鉱物油類での洗浄は絶対に行わないこと。
 
 トルクメンバー

  • 摩耗、き裂又は損傷がないか点検し、異常がある場合は交換する。
 
 ピストン

  • ピストンの表面にさび、摩耗、損傷がないか点検し、異常がある場合は交換する。
    ■ 注意 ■
    ピストンの表面はメッキ加工をしているため、サンドペーパーでの修正は行わないこと。
 
 スライドピンボルト、スライドピンブーツ

  • スライドピンボルト及びスライドピンブーツに摩耗、損傷、ひび割れがないか点検し、異常がある場合は交換する。