Снятие и установка

 
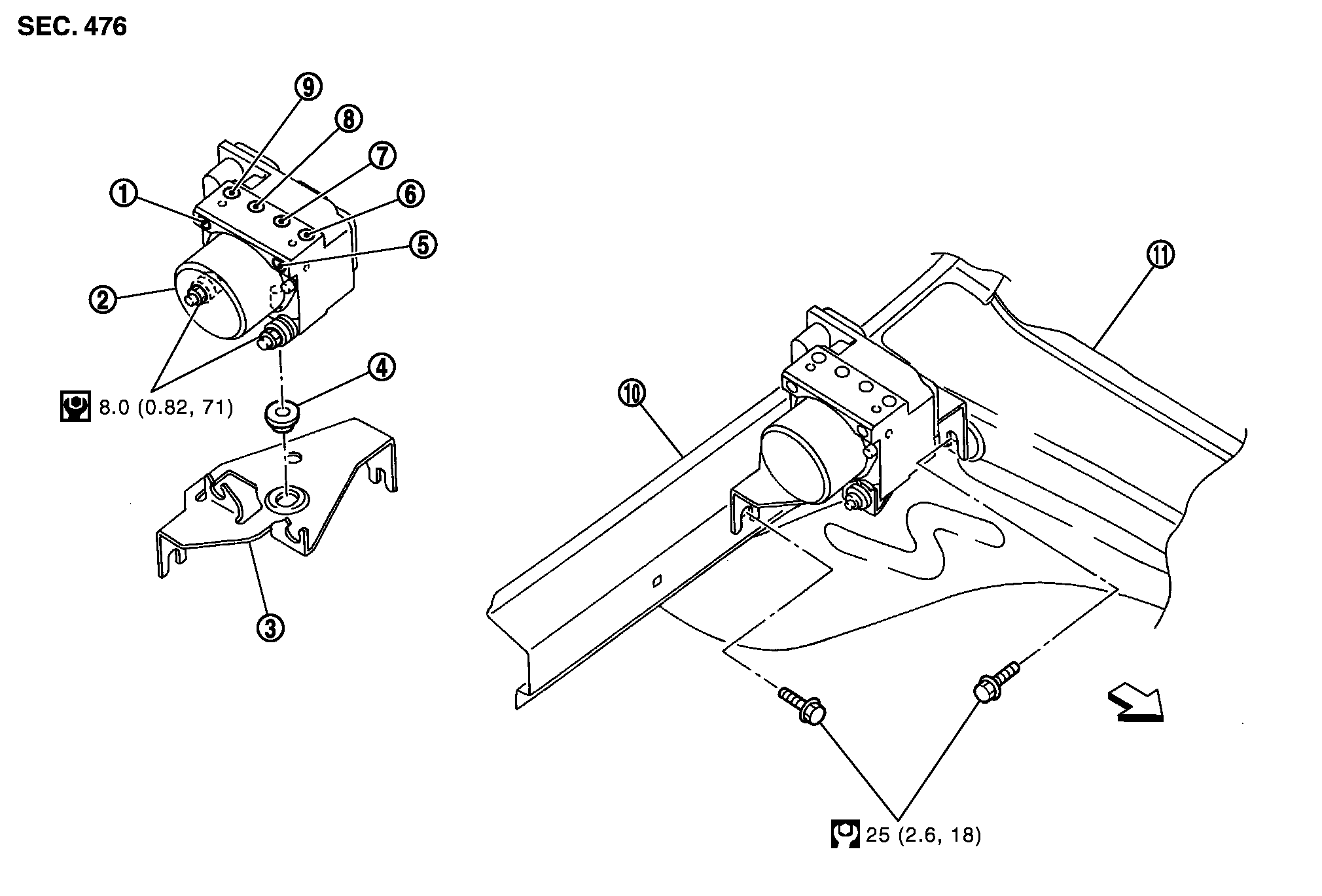
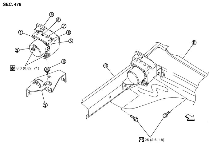
 構成図


JSFIA0246GB.JPG

1.
マスターシリンダーセカンダリー側へ
2.
ABSアクチュエーター・C/U
3.
ブラケット
4.
ゴムブッシュ
5.
マスターシリンダープライマリー側へ
6.
フロント左キャリパーへ
7.
リヤ右ホイールシリンダーへ
8.
リヤ左ホイールシリンダーへ
9.
フロント右キャリパーへ
10.
クロスメンバー
11.
サイドメンバー

:車両前方
イラスト内のシンボルマークについては、GIセクション部品構成図内で使用している記号一覧を参照する。

 
 取り外し

    1.バッテリーを取り外す。
    2.エアクリーナーケース及びエアダクトを取り外す。HR15DE:取り外し、取り付け、MR18DE:取り外し、取り付けを参照する。
    3.ABSアクチュエーター・C/Uコネクターを取り外す。
    4.フレアナットレンチを用いて、ブレーキチューブのフレアナットを緩め、ABSアクチュエーター・C/Uからブレーキチューブを取り外す。
    ■ 注意 ■
    ブレーキチューブの取り外しは、フレアナットレンチを用いて行い、フレアナット及びブレーキチューブに傷を付けないよう作業すること。
    5.ABSアクチュエーター・C/U取付ボルトを取り外し、ABSアクチュエーター・C/Uを取り外す。
    ■ 注意 ■
    • アクチュエーター脱着時、アクチュエーターのハーネスを持って作業しないこと。
    • アクチュエーターを落下させる等の過大な衝撃を与えないこと。

 
 取り付け

下記の作業に注意し、取り外しの逆の手順で行う。
  • ブレーキチューブを取り付ける際は、フレアナットトルクレンチを用いて規定トルクで締め付ける。油圧配管を参照する。
  • 作業終了後、ブレーキ配管のエア抜きを行う。エア抜きを参照する。