Снятие и установка

 
 取り外し

■ 注意 ■
  • 取外作業時は、キースイッチOFFでバッテリマイナス端子を外し、3分以上放置後に行うこと。
  • 取外作業時は、エアバッグ正面を避けて行うこと。
  • 取外作業時に、エアツール及び電動ツールは使用しないこと。
  • エアバッグモジュールに落下等による衝撃を加えないこと。衝撃を加えた場合、エアバッグモジュールを交換すること。

    1.ヘッドライニングを取り外す。 「EI 外装・内装」のヘッドライニングを参照する。
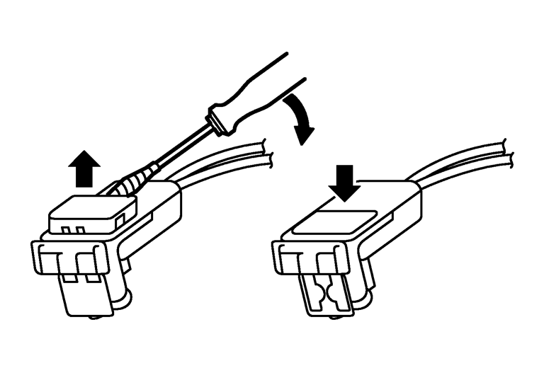
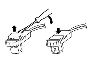
    2.カーテンエアバッグモジュールコネクタを取り外す。
    PHIA0953J.JPG
    ■ 注意 ■
    • カーテンエアバッグ用コネクタの脱着は、テープを巻いたマイナスドライバを切り欠き部に差し込み、ロックを引き上げてコネクタを外す。
    • コネクタの取り付けは、ロックを引き上げた状態で取り付け、ロックを押し込み固定する。
    • 取付後、ロックが確実に押し込まれていることを確認すること。


    3.取付ボルトを外し、カーテンエアバッグモジュールを取り外す。

    : 10.8 N·m (1.1 kg-m)

 
 取り付け

取り付けは下記に注意し、取り外しの逆の手順で行う。
■ 注意 ■
  • 取付作業時は、キースイッチOFFでバッテリマイナス端子を外し、3分以上放置後に行うこと。
  • 取付作業時は、エアバッグ正面を避けて行うこと。
  • 取付作業時に、エアツール及び電動ツールは使用しないこと。
  • 取付時、ハーネスのかみ込み、損傷等に十分注意すること。
  • アースボルト取付位置を間違わないように注意すること。
  • 作業終了後SRSエアバッグ警告灯により、システムが正常か異常かを確認すること。
  • SRSエアバッグ警告灯が異常を表示した場合、自己診断機能によるリセット操作及びCONSULT-IIIにて記憶消去を行うこと。
  • 上記の操作を行ってもSRSエアバッグ警告灯が異常を表示する場合、故障診断を実施し異常箇所を修理すること。 故障診断概要を参照する。