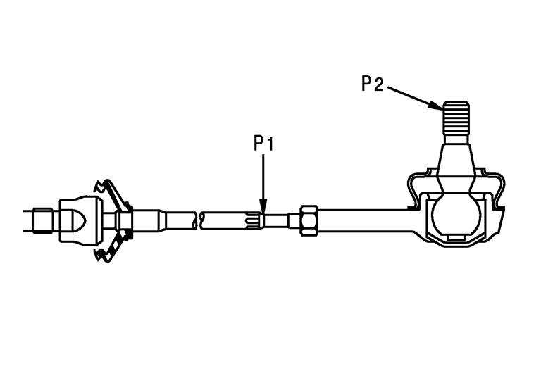
рулевой механизм

 
 ボールジョイントよう動力

インナソケット
ボールジョイント
バネ秤の測定値
(測定位置:P1部)
4.3 – 43.5 N (0.4 – 4.4 kg)
アウタソケット
ボールスタッド
バネ秤の測定値
(測定位置:ボールスタッド上端ねじ山P2部)
6.0 – 58 N (0.6 – 5.9 kg)

SGIA1553J.JPG

 
 ボールジョイント軸方向エンドプレー

アウタソケットボールスタッド
0.5 mm以下
インナソケットボールジョイント
0.2 mm以下

 
 インナソケット取付寸法

インナソケット取付寸法(L)
57.8 mm

SGIA1512E.JPG

 
 ピニオン回転トルク

平均値[中立付近(±100°以内)]
0.6 – 1.2 N·m(0.07 – 0.12 kg‐m)
最大値
1.6 N·m(0.16 kg‐m)

 
 ラック変位量

ラック変位量
  • 測定位置:ギヤハウジングASSY端面(ピニオンASSY側)から10 mmのラックASSY歯部
  • 測定条件:ラックASSYにねじりトルク±7.8·m(0.80 kg‐m)
0.1 mm以下

 
 ラックストローク

タイヤ
175/70R14
185/65R15
195/55R16
ラックストローク寸法(L)
71.0 mm
65.0 mm

SGIA0717J.JPG