замена чехла приводного вала

 
 付帯作業

 
 取り外し

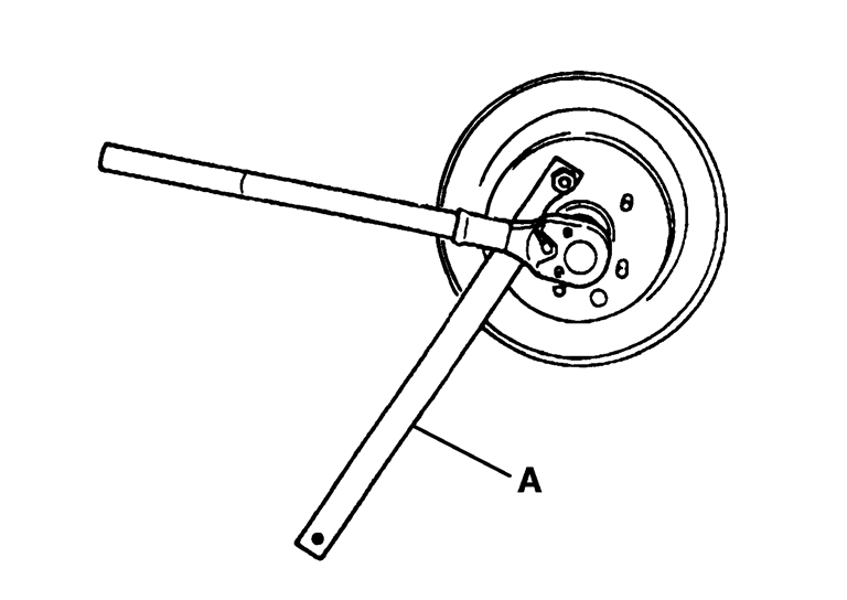
    1.コッターピンを外し、ハブロックナットレンチ(特殊工具)を用いて、ハブロックナットを緩める。
    PDIA1180J.JPG

    特殊工具
    A: KV40104000


    2.木片を仮付けした状態のハブロックナットにあて、ハンマーで軽打し、ホイールハブ&ベアリングASSYとドライブシャフトを分離する。
    SDIA1821J.JPG
    参考:
    上記方法で分離できない場合は、プーラー(汎用工具)を用いて分離する。
    3.ハブロックナットを取り外す。
    4.ステアリングナックルを移動し、ドライブシャフトをホイールハブ&ベアリングASSYより取り外す。
    ■ 注意 ■
    ドライブシャフトのジョイント部に過大な角度を与えないこと。また、スライドジョイントを過大に伸ばさないこと。
    5.ブーツバンドを外し、ブーツをジョイントサブASSYより取り外す。
    6.ドライブシャフトプーラー(汎用工具)をジョイントサブASSYのネジ部に30 mm以上ねじ込み、片手でドライブシャフトを固定し、スライディングハンマー(汎用工具)を用いてジョイントサブASSYをシャフトより抜き取る。
    SDIA0881J.JPG
    ■ 注意 ■
    • スライディングハンマーとドライブシャフトを直線上にセットし、強い力で一気に引き抜くこと。
    • ジョイントサブASSYが抜けない場合は、ドライブシャフトを車両より取り外し、ジョイントサブASSYをシャフトより抜き取る。


    7.サークリップをシャフトより取り外す。
    SDIA0877J.JPG
    8.ブーツをシャフトより取り外す。
 
 取り付け

    1.ジョイントサブASSY内のスチールボールを回転させながら、ジョイントサブASSYに付着している古いグリースをペーパーウエスを用いて除去する。
    SDIA0878J.JPG
    2.ジョイントサブASSYのセレーション穴から、日産純正指定グリース(パーツカタログ参照)をボール溝及びセレーション穴からせり上がってくるまで注入する。
    ■ 注意 ■
    注入後、せり上がってきた古いグリースはペーパーウエスを用いて除去すること。

    3.シャフトのセレーション部にテープを巻き、ブーツを損傷させないようにし、ブーツバンド及びブーツをシャフトに取り付ける。
    SDIA0687J.JPG
    4.シャフトのセレーション部に巻いたテープを外す。
    5.シャフト先端のサークリップ溝にサークリップを取り付ける。
    SDIA2075J.JPG
    参考:
    サークリップの取り付けに、ドライブジョイントインサーター(汎用工具)を用いると作業がしやすい。
    6.シャフト先端とジョイントサブASSYの中心軸を合わせ、ドライバー先端でサークリップを押えながらジョイントサブASSYを組み付ける。
    7.プラスチックハンマー等を用いて、ジョイントサブASSYをシャフトに押し込み、サークリップがジョイントサブASSYのサークリップ溝にはまっていることを確認する。
    SDIA0880J.JPG
    ■ 注意 ■
    ジョイントサブASSYが正しくかみ合っているか、ドライブシャフトを回転させて確認すること。
    8.残りのグリースをブーツの大径側からジョイントサブASSY内に充てんする。
    総グリース充てん量
    :66 ‐ 86 g(CVT車以外)

    :77 ‐ 97 g(CVT車)

    9.ブーツを図の溝部(※部)へ確実に取り付ける。
    SDIA3050J.JPG
    ■ 注意 ■
    シャフト及びジョイントサブASSYのブーツ取付溝(※部)にグリースが付着しているとブーツが外れるおそれがあるので、付着したグリースは除去すること。
    10.ブーツの変形を防止するため、大径側からマイナスドライバー等を差し込み、ブーツ内のエアを抜きながら、ブーツ取付長さを下記寸法に合わせる。
    ブーツ取付長さ“L”
    :130.9 mm(CVT車以外)

    :136 mm(CVT車)

    ■ 注意 ■
    • ブーツ取付長さが基準値を外れるとブーツ破れの原因となる。
    • ドライバー等の先端がブーツ内面に当たらないようにすること。

    11.ブーツバンドカシメ工具(特殊工具)を用いて、図のようにブーツの大径側及び小径側をブーツバンドで固定する。
    SDIA0876J.JPG
    特殊工具A: KV40107300
    参考:
    ブーツバンドを固定する際、図のM寸法が下記になるよう固定する。

    DSF0047D.JPG

    M寸法
    :2.0 ‐ 3.0 mm

    12.ジョイントサブASSY及びシャフトを固定してブーツを回転させたとき、位置ずれが発生しないか確認する。位置ずれが発生した場合、新品のブーツバンドで再度組み付ける。
    13.トランスアクスル側のサークリップのかん合が抜けていないことを確認する。(左側ドライブシャフト)
    14.ドライブシャフトをホイールハブ&ベアリングASSYに挿入し、ハブロックナットを仮締めする。
    15.ステアリングナックルとストラットの取付ボルト及びナットを取り付ける。構成図を参照する。
    16.ハブロックナットレンチ(特殊工具)を用いて、ハブロックナットを規定トルクで締め付ける。構成図(HR15DE:左側及び右側、 MR18DE:左側)、構成図 (MR18DE:右側)を参照する。
    PDIA1179J.JPG

    特殊工具
    A: KV40104000

    17.コッターピンを取り付ける。