ВИЗАТОР
Новости японской автоиндустрии
Главная
Новости
FAQ
Аукционы
Руководства по ремонту
Nissan Wingroad Y12: полное руководство по ремонту и обслуживанию на русском языке
Вы здесь:
Главная
Руководства по ремонту
Nissan Wingroad Y12: полное руководство по ремонту и обслуживанию на русском языке
Привод и мосты
Передний мост и приводные валы
Специальные предметы для подготовки инструмента
Специальные предметы для подготовки инструмента
специальные инструменты
名称
用途
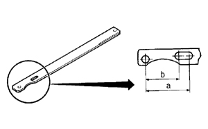
ハブロックナットレンチ
KV40104000
a:85 mm
b:65 mm
ハブロックナット取り外し、取り付け
ブーツバンドカシメ工具
KV40107300
ブーツバンド取り付け
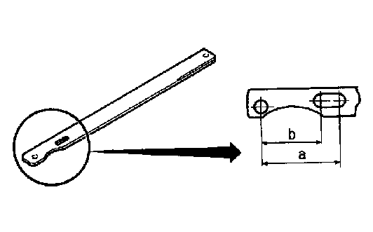
プロテクター
KV38107900(HR15DE)
a:φ32 mm
KV38105500(MR18DE:左側)
a:φ40 mm
KV38106700(MR18DE:右側)
a:φ36 mm
ドライブシャフト取り付け
Предыдущий: Меры предосторожности относительно приводных валов
Назад
Следующий: Бортовой осмотр и техническое обслуживание Ступица и поворотный кулак переднего колеса
Вперед