Разборка и сборка (MR18DE: правая сторона)

 
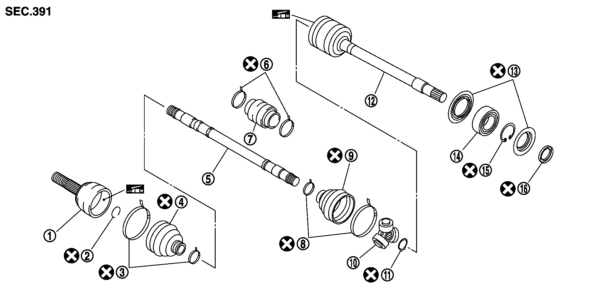
 構成図


SDIA3151J.JPG

1.
ジョイントサブASSY
2.
サークリップ
3.
ブーツバンド(ホイール側)
4.
ブーツ(ホイール側)
5.
シャフト
6.
バンド
7.
ダイナミックダンパー
8.
ブーツバンド(トランスアクスル側)
9.
ブーツ(トランスアクスル側)
10.
スパイダーASSY
11.
スナップリング
12.
ハウジング
13.
ダストシールド
14.
サポートベアリング
15.
スナップリング
16.
ダストシールド




イラスト内のシンボルマークについては、GIセクション部品構成図内で使用している記号一覧を参照する。ただし、その他のシンボルマークについては下記を参照する。
:
日産純正指定グリース(パーツカタログ参照)

 
 ポイント

分解、組み立ては、下記の作業に注意して行う。
 
 トランスアクスル側の分解
  • ハウジングを取り外す際は、ハウジングとシャフトに合いマークを付けた後、スパイダーASSYよりハウジングを取り外す。
    ■ 注意 ■
    合いマークはペイント等を使用し、傷を付けないこと。
  • スパイダーASSYを取り外す際は、ハウジングを取り外し、シャフトとスパイダーASSYに合いマークを付ける。
    RAC0028D.JPG
    ■ 注意 ■
    合いマークはペイント等を使用し、傷を付けないこと。
 
 トランスアクスル側の組み立て
  • ハウジング内部には下記量の日産純正指定グリース(パーツカタログ参照)を充てんする。
    総グリース充てん量
    :113 ‐ 123 g

  • ブーツをシャフトに取り付ける際は、シャフトのセレーション部にテープを巻き、ブーツを損傷させないようにし、ブーツバンド及びブーツを取り付ける。
    RAC0032D.JPG

  • スパイダーASSYは、取り外す際に付けたシャフトの合いマークに合わせ、セレーション部の面取りがシャフト側になるように取り付ける。
    SDIA1727J.JPG
  • ハウジングは、取り外す際に付けたシャフトの合いマークに合わせ、スパイダーASSYに組み付ける。
  • ブーツは図の溝部(※部)へ確実に取り付ける。
    SDIA3223J.JPG
    ■ 注意 ■
    シャフト及びハウジングのブーツ取付溝(※部)にグリースが付着しているとブーツが外れるおそれがあるので、付着したグリースは除去すること。
  • ブーツの変形を防止するため、大径側からマイナスドライバー等を差し込み、ブーツ内のエアを抜きながら、ブーツ取付長さを下記寸法に合わせる。
    ブーツ取付長さ“L”
    :165.6 mm 

    ■ 注意 ■
    • ブーツ取付長さが基準値を外れるとブーツ破れの原因となる。
    • ドライバー等の先端がブーツ内面に当たらないようにすること。

  • ブーツバンドは下記の要領で締め付ける。
    1.ブーツバンドをブーツの所定溝にセットし、バンドの爪と溝部を合わせて仮止めする。
    SDIA3053J.JPG

    2.ラジオペンチ等を用いて、工具掛け爪部を引き寄せて締める。
    SDIA3054J.JPG

    3.バンド先端部を工具爪端部に挿入する。
    SDIA3055J.JPG
    4.ハウジング及びシャフトを固定してブーツを回転させたとき、位置ずれが発生しないか確認する。位置ずれが発生した場合、新品のブーツバンドで再度組み付ける。
 
 ホイール側の分解
  • ドライブシャフトプーラー(汎用工具)をジョイントサブASSYのネジ部に30 mm以上ねじ込み、スライディングハンマー(汎用工具)を用いて、ジョイントサブASSYをシャフトより抜き取る。
    RAC0731D.JPG
    ■ 注意 ■
    • ジョイントサブASSYの抜き取り作業を5回以上行って外れない場合は、ドライブシャフトASSYで交換すること。
    • スライディングハンマーとドライブシャフトを直線上にセットし、強い力で一気に引き抜くこと。

 
 ホイール側の組み立て
  • ドライブシャフトブーツ交換の取り付け手順1〜12を参照して行う。
 
 サポートベアリング
  • ダストシールドは、黄銅棒又はマイナスドライバー等を用いてハウジングより取り外す。
  • サポートベアリングの脱着は、プレスを用いて行う。
 
 ダイナミックダンパー
ダイナミックダンパーを取り付ける際は、下記寸法位置でバンドで固定する。

FAC0156D.JPG

A寸法
ダイナミックダンパ参照
B寸法
ダイナミックダンパ参照

 
 分解後の点検
 
 シャフト

シャフト部に振れ、き裂及び損傷等がないか点検し、異常がある場合はシャフトを交換する。
 
 ジョイントサブASSY(ホイール側)

下記の項目を点検し、異常がある場合はジョイントサブASSYを交換すること。
  • ジョイントサブASSYの回転具合、軸方向のガタ
  • ジョイントサブASSY内部の異物混入
  • ジョイントサブASSY内部の圧痕、き裂、欠け
 
 ハウジング及びスパイダーASSY(トランスアクスル側)

ハウジングのローラー接触面及びスパイダーASSYのローラー面に傷、摩耗等がないか点検し、異常がある場合はハウジングとスパイダーASSYをセットで交換する。
 
 サポートべアリング

サポートベアリングの回転具合、軸方向の異常なガタがないか点検し、異常がある場合は交換する。
 
 ダイナミックダンパー

き裂及び損傷等がないか点検し、異常がある場合は交換する。