ВИЗАТОР
Новости японской автоиндустрии
Главная
Новости
FAQ
Аукционы
Руководства по ремонту
Nissan Wingroad Y12: полное руководство по ремонту и обслуживанию на русском языке
Вы здесь:
Главная
Руководства по ремонту
Nissan Wingroad Y12: полное руководство по ремонту и обслуживанию на русском языке
Кузов
Стекла, окна, зеркала
Механизм подъема стекла передней двери Стекло и регулятор передней двери
Механизм подъема стекла передней двери Стекло и регулятор передней двери
Механизм подъема стекла передней двери
構成図
📄
Открыть схему PIIB7478J.PDF
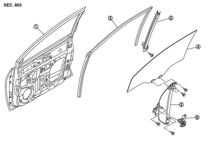
1.
ドアパネル
2.
ロアサッシュ
3.
ドアグラスラン
4.
ドアガラス
5.
レギュレーターASSY
6.
パワーウインドーモーター
レギュレーターASSY
ドライバー席に挟み込み防止機能付きレギュレーターを採用した。
Предыдущий: Обзор Стекло передней двери и регулятор
Назад
Следующий: Обзор Стекло задней двери и регулятор
Вперед