Снятие и установка


■ 注意 ■
脱着の際は、干渉すると思われる部位をウエス等で保護し、傷付き防止を図ること。
 
 取り外し

    1.ヘッドレストを取り外す。(取り外し時の干渉を避けるため。)
    2.シートスライドフロントカバーを取り出す。手順は、1:前側の樹脂爪を外す。2:シートスライドフロントカバーを後方に押す。3:シートスライドフロントカバーの後ろ側を外側に開き樹脂爪を外す。
    PIIB7702J.JPG

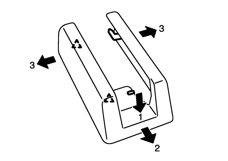
    3.シートスライドリヤカバーを取り外す。手順は、1:シートスライドリヤカバー後方中央部を上から押す。2:後方にスライドする。3:前側の樹脂爪を外す。
    PIIB5518J.JPG

    4.シート取付ボルトを取り外す。
    5.シートクッション下部のハーネスコネクターを取り外す。(運転席、助手席テーブル付き)
    参考:
    作業前にクランプの位置を確認しておくこと。
 
 取り付け

取り付けは、下記に注意し取り外しの逆の手順で行うこと。
■ 注意 ■

  • スライドレールの内側と外側とが同じ位置でロックしていることを確認してから取り付けること。
  • スライドレールのロケーションピンがフロア孔に入っていることを確認すること。
  • シートベルトのハーネスクランプは必ず所定の位置で固定すること。
  • フロントシート取付ボルトは規定のトルクで締め付けること。


締付トルク
:40.0 N·m(4.1 kg-m)