Снятие и установка

 
 取り外し
 
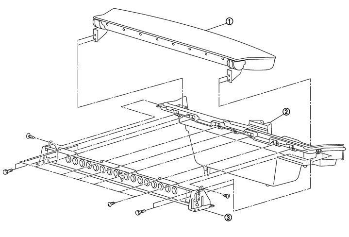
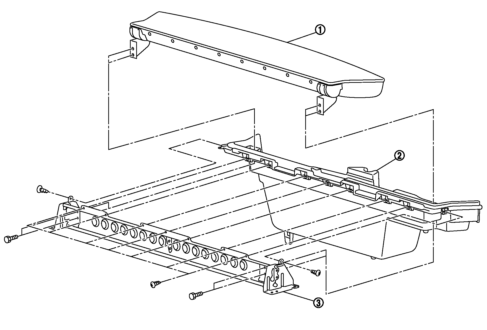
 ラゲッジリヤプレート

    1.バックドアウエザーストリップを取り外す。「BL ボディー・ロック・セキュリティー」のバックドアウエザーストリップの取り外し、取り付けを参照。
    2.ラゲッジフロアボ−ドリヤを取り外す。 (RSを除く)
    3.ELB(イージーラゲッジベンチ)ボックスASSYのリッドを起こす。
    4.リヤプレートマスクを外す。
    5.ラゲッジリヤプレート裏側の樹脂爪のかん合を外し、ラゲッジリヤプレートを取り外す。
 
 ELB(イージーラゲッジベンチ)ボックスASSY

    1.ラゲッジフロアリッドを取り外す。
    2.ラゲッジフロアボックスを取り外す。
    3.ラゲッジフロアサイドフィニッシャー(左右)を取り外す。
    4.ラゲッジフロアサイドスペーサー(左右)取付樹脂クリップを外し、取り外す。
    5.ラゲッジリヤプレートを取り外す。
    6.ELB(イージーラゲッジベンチ)ボックスASSY取付ナット及びボルトを外し、取り外す。
    ■ 注意 ■
    取り外す際、ELB (イージーラゲッジベンチ)のレインフォースでラゲッジトリムを傷つけるおそれがあるので、カバー等で保護すること。

 
 ラゲッジサイドロアフィニッシャー

    1.ラゲッジフロアスペーサーを取り外す。 (e-4WD車)
    2.リヤシートを取り外す。「SEシート」の取り外し、取り付けを参照。
    3.ラゲッジリヤプレートを取り外す。
    4.ELB(イージーラゲッジベンチ)ボックスASSYを取り外す。
    5.ラゲッジ左のツールリッド(1)を取り外し、ラゲッジサイドロアフィニッシャーに装着されている車載工具を取り出す。
    PIIB7776J.JPG

    6.リヤキッキングプレートを取り外す。「EI 外装・内装」の取り外し、取り付けを参照。
    7.ラゲッジサイドロアフィニッシャーに接するリヤボディーサイドウエルトを取り外す。
    8.ロープフックを取り付けているボルトを外し、取り外す。
    9.ラゲッジサイドカバーをリムーバーツールを使用して取り外す。(トノカバー無車)
    10.リヤパーセルシェルフホルダー取付ボルトを外し、取り外す。 (トノカバー付車)
    11.ラゲッジサイドカバー(トノカバー無車)を外し、奥にあるスクリューを外す。
    12.シートリモコンレバー部のエスカッション(1)を外し、奥にあるボルト(2)を外す。 (リモコン可倒式リヤシート付車)
    PIIB7777J.JPG
    参考:
    リモコン可倒式リヤシート無車の場合、リモートコントロールレバーキャップは取り外さなくてもよい。

    13.ラゲッジサイドロアフィニッシャー裏側の樹脂クリップ及び樹脂爪のかん合を外し、ラゲッジサイドロアフィニッシャーを取り外す。
    14.ラゲッジサイドロアーフィニッシャーを取り外した後、下記部品を取り外す。
    • ラゲッジフック
    • リモートコントロールレバーエスカッション
    • ショックアブソーバーマスク

 
 ラゲッジサイドアッパーフィニッシャー

    1.ラゲッジサイドロアフィニッシャーを取り外す。「EI 外装・内装」の「ラゲッジサイドロアフィニッシャー」を参照。
    2.バックドアウェザーストリップを取り外す。 「BL ボディー・ロック・セキュリティー」のバックドアウエザーストリップの取り外し、取り付けを参照。
    3.リヤシートベルトのショルダーアンカー取付ボルトを外す。「SBシート」の取り外し、取り付けを参照。
    4.ラゲッジサイドアッパーフィニッシャー上部のロープフックを取り付けているボルトを外し、取り外す。
    5.ラゲッジサイドアッパーフィニッシャーに接するリヤボディーサイドウエルトを取り外す。
    6.ラゲッジサイドアッパーフィニッシャー裏側のメタルクリップ及び樹脂クリップのかん合をリムーバーツールを使用して外し、取り外す。
 
 取り付け

取り付けは、取り外しの逆の手順で行う。

 
 ELB(イージーラゲッジベンチ)ボックスASSYの分解、組み立て


PIIB7773J.JPG

1.
ELB(イージーラゲッジベンチ)リッド
2.
ELB(イージーラゲッジベンチ)ボックス
3.
ELB(イージーラゲッジベンチ)レインフォース

 
 分解

    1.ELB(イージーラゲッジベンチ)レインフォースとリッドを留めているボルトを外し、リッドを取り外す。
    2.ELB(イージーラゲッジベンチ)レインフォースとボックスを留めているスクリューを外し、ボックスを取り外す。
 
 組み立て

組み立ては下記に注意し、分解の逆の手順で行う。
■ 注意 ■
  • ELB(イージーラゲッジベンチ)のヒンジ部は分解しないこと。
  • ELB(イージーラゲッジベンチ)のヒンジ部には給油しないこと。
  • ELB(イージーラゲッジベンチ)を分解した際は、フロアとの面差をチェックして段差が大きくなった場合はELB(イージーラゲッジベンチ)レインフォースにて調整して組み付けること。

 
 ELB(イージーラゲッジベンチ)ボックスASSYの建付調整


PIIB7929J.JPG

1.
ラゲッジフロアボード
2.
ELB(イージーラゲッジベンチ)
3.
ラゲッジフロアサイドフィニッシャー

 
 面差調整値


部位
フロアタイプ
面差
ラゲッジフロアボードとELB
a - a

0.5 - 2.5 mm
ラゲッジフロアボードとラゲッジフロアサイドフィニッシャー
b - b
ウォッシャブルラゲッジ
-0.5 - 2.5 mm
カーペット
0.5 - 3.5 mm
ELBとラゲッジフロアサイドフィニッシャー
c - c
ウォッシャブルラゲッジ
-1.5 - 1.5 mm
カーペット
-0.5 - 2.5 mm

 
 面差調整

ELB(エージーラゲッジベンチ)を分解した場合は、取り付け後にフロアとの面差を確認すること。
段差が大きくなった時にはELB(エージーラゲッジベンチ)レインフォースを車体に取り付けた状態で、レインフォースとボックスを締結しているスクリューを緩め、ボックスを上下に動かして調整する。