ВИЗАТОР
Новости японской автоиндустрии
Главная
Новости
FAQ
Аукционы
Руководства по ремонту
Nissan Wingroad Y12: полное руководство по ремонту и обслуживанию на русском языке
Вы здесь:
Главная
Руководства по ремонту
Nissan Wingroad Y12: полное руководство по ремонту и обслуживанию на русском языке
Кузов
Экстерьер и интерьер
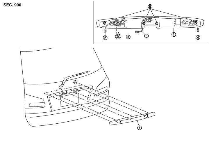
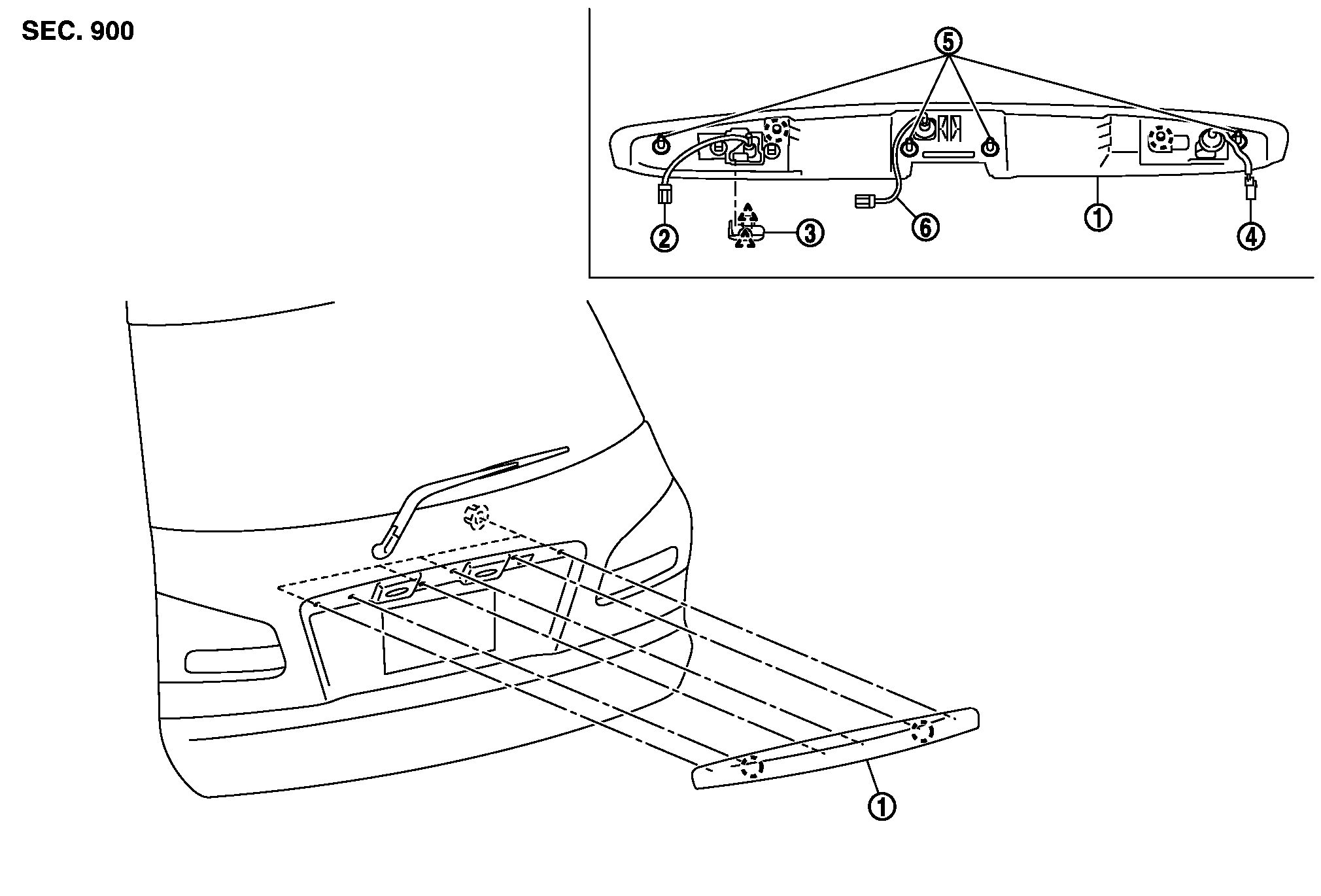
Схема конфигурации финишера номерного знака
Схема конфигурации финишера номерного знака
Схема конфигурации
📄
Открыть схему PIIB7402J.PDF
1.
ライセンスプレートフィニッシャー
2.
バックビューカメラハーネスコネクター(バックビューモニター付車)
3.
カバー(バックビューモニター無車)
4.
室外アンテナハーネスコネクター
(インテリジェントキー付車)
5.
スタッドボルト
6.
バックドアSW(オープナーSW)ハーネスコネクター(インテリジェントキー付車はリクエストスイッチハーネス含)
: 樹脂クリップ
: 樹脂爪
Предыдущий: Снятие и установка спойлера на крыше
Назад
Следующий: Снятие и установка финишера номерного знака
Вперед