Проверка темнового тока


■ 注意 ■
バッテリーのマイナス端子側ケーブルをバッテリー端子から外してしまうと、暗電流が大きい状態は再現しなくなることがある。バッテリー上がりが発生した場合、電流計測プローブを取り付けるときに絶対にバッテリー端子を外さないこと。
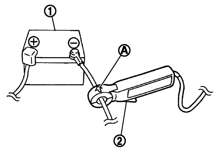
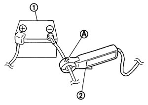
    1.バッテリー(1)のマイナス端子側ケーブルに電流計測プローブ(2)を取り付ける。
    PKID1425J.JPG

    A
    :電流方向マーク

    2.電装品が全てOFFになっていることを確認する。
    3.キーを抜き、ドアを閉めてロックし、ルームランプの消灯を確認する。
    4.暗電流を測定する。電流は50 mA以下か?
    ■ 注意 ■
    車両の装備及び仕様により暗電流の安定時間が異なるため、1分程度放置して50 mA以下にならない場合は、30分以上放置後に再度測定する。
    YESの場合は7へ。NOの場合は5へ。
    5.ヒューズの抜き差しを1本ずつ行い、暗電流が大きく変化するヒューズを探す。
    ■ 注意 ■
    ヒューズを抜くと暗電流が大きく減少し、再度ヒューズを差したときには、あまり暗電流が増えないことがあっても、そのヒューズの回路が原因である可能性が高い。
    6.原因回路のハーネスを揺すったときに暗電流が変化するか調べる。ハーネスを揺すって暗電流が変化するときは、ハーネスのショートを点検する。ハーネスを揺すっても変化しないときは、その回路中の電子ユニットがキースイッチOFF時に省電力モードに入らなかった可能性がある。省電力モードに入らなかったと判断できるときは、電子ユニットを交換する。
    7.点検終了(オルタネーター及び車両電装品は、異常なし)。