Замена, снятие и установка лампочек (лампочка бокового указателя поворота)


■ 注意 ■
  • 作業時は、バッテリのマイナス端子、又は電源ヒューズを取り外すこと。
  • バルブのガラス面は、直接手で触れたり、油脂類を付着させないこと。
  • ランプ消灯直後は、高温のため、バルブのガラス面に手を触れないこと。
  • バルブをランプハウジングから外したままで長い間放置すると、ちり、ほこりなどによりレンズ、リフレクターの性能低下(汚れ、及びくもり等)の原因になるためバルブ交換は、新品バルブを用意してから行うこと。

 
 取り外し

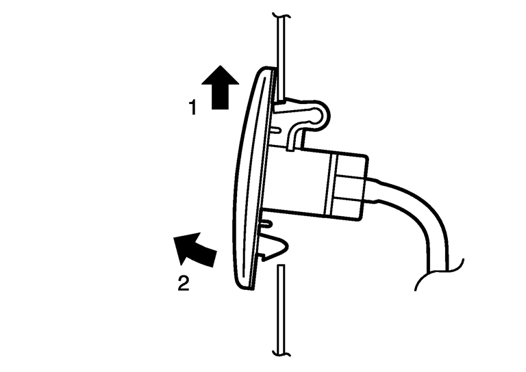
    1.サイドターンシグナルランプを車両前方に押しながら車両外側に引き、車両から取り外す。(図の番号順)
    PKID1338J.JPG
    2.バルブソケットを反時計方向に回し、ロックを外す。
    3.バルブソケットからバルブを取り外す。
■ 注意 ■
サイドターンシグナルランプのバルブソケットが、フロントフェンダー内に落ちないよう、テープ等で保持する。
 
 取り付け

    1.バルブをバルブソケットに取り付ける。
    2.バルブソケットを時計方向に回し、ロックする。
    3.サイドターンシグナルランプハウジング裏の樹脂クリップ側を車両前方に押しながら取り付け、爪側を取り付ける。