Проверка компонентов

 
 フューエルゲージユニット

  1. フューエルゲージユニットを車両より取り外す。「FL 燃料システム」のフューエルゲージ・フューエルフィルター・フューエルポンプASSY を参照。
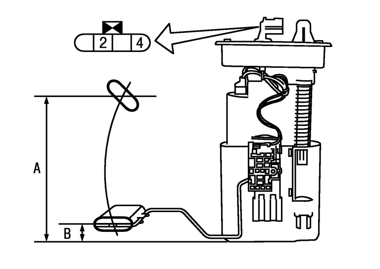
  2. ゲージフランジ面を水平にする。
    PKIC6021J.JPG
  3. フューエルゲージユニットをFull状態、Empty状態にし、ゲージ側の抵抗値を点検する。
    参考:
    FullとEmptyのフロート位置はストッパーに当たっている状態。

    2~4

    Full
    : 約 6 Ω
    Empty
    : 約 80 Ω

標準フロート位置(参考値)

Full (A)
: 約 160 mm
Empty (B)
: 約 20 mm

 
 オイルプレッシャースイッチ

参考:
油圧点検をする場合は、「LU 潤滑システム」の油圧点検 (HR15DE)、又は油圧点検 (MR18DE)を参照。
オイルプレッシャースイッチ~ボディーアース間の導通を点検する。

ELF0044D.JPG

1~ボディーアース間

エンジン停止時
: 導通あり
エンジン回転時
: 導通なし