ВИЗАТОР
Новости японской автоиндустрии
Главная
Новости
FAQ
Аукционы
Руководства по ремонту
Nissan Wingroad Y12: полное руководство по ремонту и обслуживанию на русском языке
Вы здесь:
Главная
Руководства по ремонту
Nissan Wingroad Y12: полное руководство по ремонту и обслуживанию на русском языке
Электрооборудование
Аудио-визуальная система
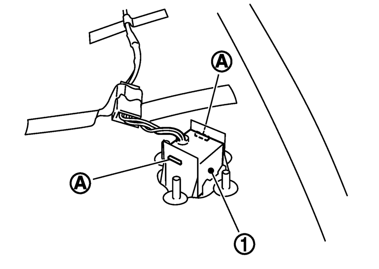
Снятие и установка микрофона
Снятие и установка микрофона
микрофон
取り外し
1.ヘッドライニングを取り外す。
ヘッドライニング
を参照。
2.ヘッドライニングからマイクを固定している爪(A)及びコネクターを外し、マイク(1)を取り外す。
取り付け
取り付けは、取り外しの逆の手順で行う。
Предыдущий: Снятие и установка усилителя телевизионной антенны с селектором
Назад
Следующий: Снятие и установка блока камеры
Вперед