ВИЗАТОР
Новости японской автоиндустрии
Главная
Новости
FAQ
Аукционы
Руководства по ремонту
Nissan Wingroad Y12: полное руководство по ремонту и обслуживанию на русском языке
Вы здесь:
Главная
Руководства по ремонту
Nissan Wingroad Y12: полное руководство по ремонту и обслуживанию на русском языке
Электрооборудование
Аудио-визуальная система
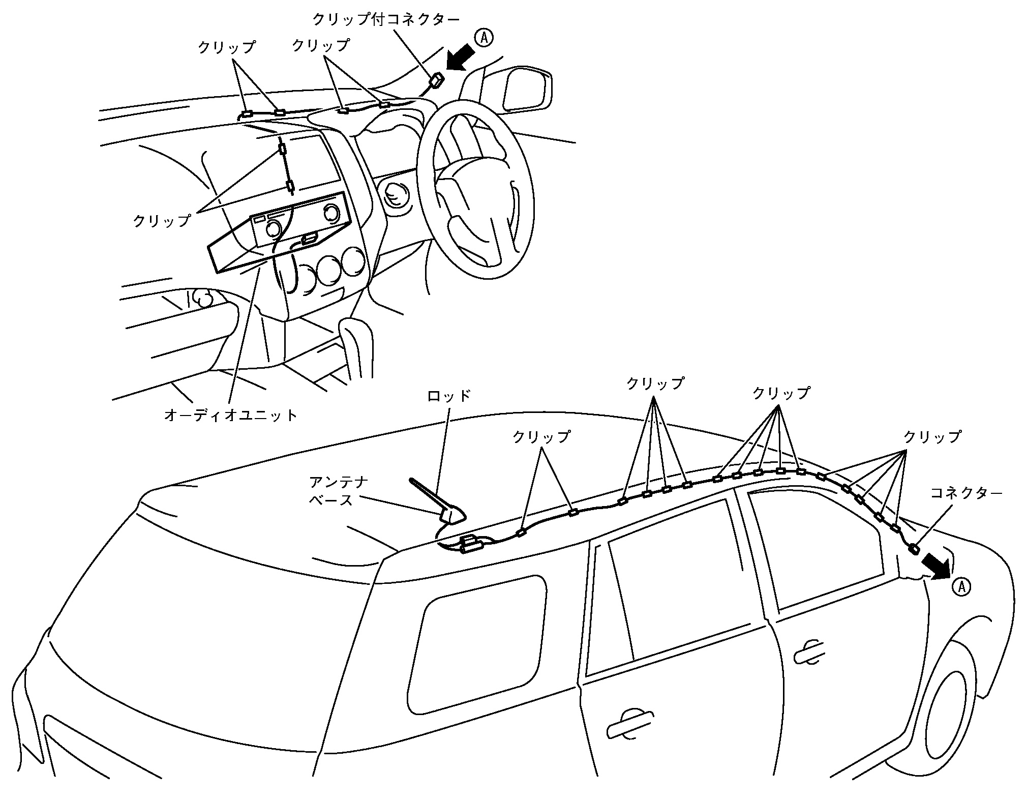
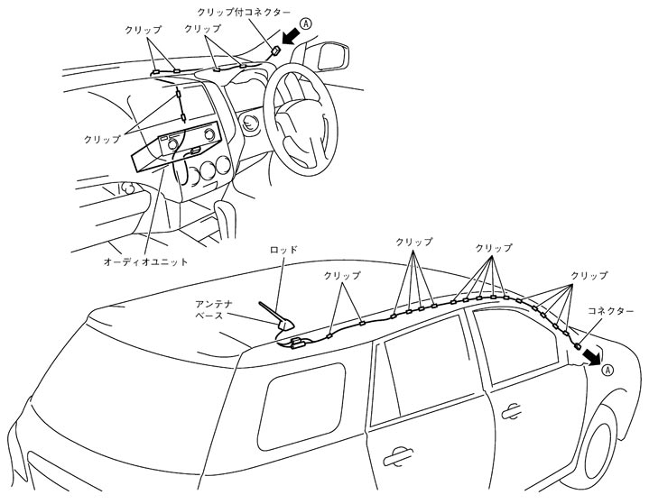
Компоненты системы антенного тракта
Компоненты системы антенного тракта
антенный путь
ロングタイプ
📄
Открыть схему SKIB7944J.PDF
ロッドタイプ
📄
Открыть схему SKIB9153J.PDF
Предыдущий: Положение монтажа компонента Компоненты системы
Назад
Следующий: Принципиальная схема - без навигационной системы - принципиальная схема
Вперед