Снятие и установка

 
 取り外し

■ 警告 ■
燃料系の部品を交換するときは、次に注意して行うこと。
  • 「注意:可燃物有り」の表示をすること。
  • 換気の良い火気のない場所で行うこと。
  • 消火器をそばに置いて作業すること。
  • 抜き取った燃料は安全な場所に保管すること。

■ 注意 ■
  • 水平な場所で作業を行うこと。
  • ホースやチューブを曲げたりねじったりしないこと。

    1.燃圧を除去する。燃圧除去(HR15DE)、又は燃圧除去(MR18DE)を参照する。
    参考:
    CONSULT‐IIIを使用しない場合は、以下の手順で燃圧を除去する。
      (1)本項の手順5.から7.を参照してフューエルゲージ·フューエルフィルター·フューエルポンプASSYからハーネスコネクターを外す。
      (2)エンジンを始動し、エンスト後、2、3回クランキングを行い燃料配管内の燃料を消費する。
    2.燃料の残量を確認し、ゲージの表示が図の指針以上にある場合(満タン、又は満タンに近い状態)は、図の指針以下になるまでフューエルタンクから燃料を抜き取る。
    PBIC4262J.JPG
    フューエルポンプ故障時には、給油口より外径25 mm以下のホースを差し込み、フィラーチューブ内の燃料を抜き取る。更に、フィラーチューブとフィラーホースの接続部を外し、フィラーホースより燃料を抜き取る。
    • 目安として満タンから7㍑ 程度抜き取ると図の位置以下となる。
    参考:
    フューエルゲージ·フューエルフィルター·フューエルポンプASSYを外したとき、燃料がこぼれるのを防止するため。
    3.フューエルフィラーリッドを開ける。
    4.フィラーキャップを開放し、フューエルタンクの内圧を抜く。
    5.リヤシートを取り外す。リヤシートを参照する。
    6.以下の手順でインスペクションホールカバーを外して移動する。
      (1)ドライバーでクリップ(3箇所)を時計方向に90°回して外す。
      (2)インスペクションホールカバーからグロメットを外し、ハーネスに沿って移動する。
    7.ハーネスコネクター、及びフューエルフィードホースをセンダーユニット部から外し、上面から移動する。
    KBIA3506J.JPG
    参考:
    • フューエルリターン経路はない。
    • ハーネスコネクター、フューエルフィードホースの接続部をセンダーユニット部と称する。


    • クイックコネクターは以下の要領で外す。
      KBIA3507J.JPG
      • クイックコネクター側面の四角部(2箇所)を指でつまんだ状態で引き抜く。
      • クイックコネクターとセンダーユニット側チューブが固着している場合は数回押し引きし、動く状態になってから引き抜く。
        ■ 注意 ■
        • 樹脂チューブに熱源を近づけないこと。
        • 樹脂チューブにバッテリー液等、酸性の液体を付着させないこと。
        • 脱着時、チューブを曲げたりねじったりしないこと。

    • 損傷、異物の付着を防ぐため、クイックコネクター部をビニール袋等で完全に覆う。
      ■ 注意 ■
      クイックコネクター内部のOリングが損傷するので、栓(プラグ)の挿入はしないこと。
    8.ロックリングレンチ(特殊工具)を使用して、ロックリングを取り外す。
    PBIC4460J.JPG

    9.フューエルゲージ·フューエルフィルター·フューエルポンプASSYを取り外す。
    KBIA3508J.JPG
    ■ 注意 ■
    • フロートアームを曲げないよう注意すること。
    • 内部に残った燃料で室内を汚さないよう、ウエス等で下面を支え、傾けないよう室外に取り出すこと。
    • 落下等の衝撃を与えないよう取り扱うこと。

 
 取り付け

以下に注意して、取り外しと逆の手順で取り付ける。
 
 フューエルゲージ·フューエルフィルター·フューエルポンプASSY取り付け
以下の手順で取り付ける。
    1.シールパッキンをフューエルタンク開口部に取り付ける。
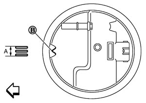
    2.上面の合わせマーク(B)がフューエルタンク側刻線3本の間(A)を向くよう、フューエルゲージ·フューエルフィルター·フューエルポンプASSYをフューエルタンクに取り付ける。(HR15DE)
    PBIC5104J.JPG


    :車両フロント

    ■ 注意 ■
    フロートアームを曲げないよう注意すること。

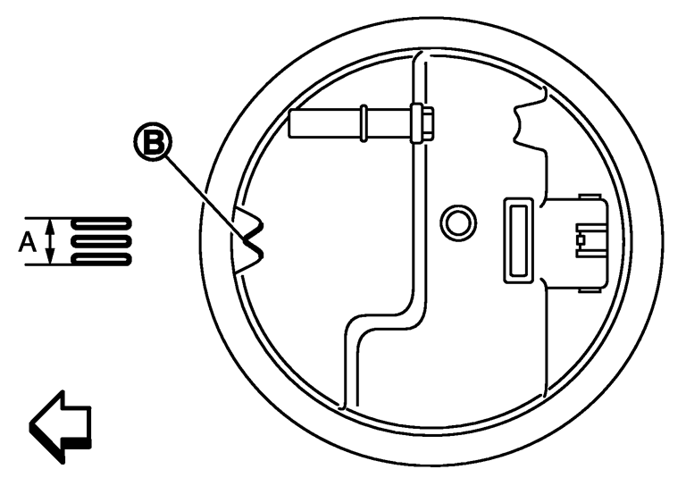
    3.上面の三角突起部(B)がフューエルタンク側刻線(A)を向くよう、フューエルゲージ·フューエルフィルター·フューエルポンプASSYをフューエルタンクに取り付ける。(MR18DE)
    PBIC5259J.JPG


    :車両フロント

    ■ 注意 ■
    フロートアームを曲げないよう注意すること。

    4.ロックリングレンチ[特殊工具:KV99104700]を使用して、ロックリングを締め付ける。
    • ロックリングが傾かないよう水平に押し付けながら締め付ける。
    5.フューエルフィードチューブのクイックコネクターを以下の手順で接続する。
      (1)接続部に損傷、異物の付着がないことを確認する。
      (2)コネクターと軸心を合わせ、「カチッ」と接続音がするまでチューブをまっすぐ挿入する。
      (3)接続後、以下の方法で確実に接続されていることを確認する。
      • リテーナーの爪が2箇所ともコネクターに接続されていることを目視で確認する。
      • チューブとコネクターを引っ張り、確実に接続されていることを確認する。
        KBIA1556J.JPG
    6.ハーネスコネクターを接続する。
 
 ロックリング取り付け

  • ロックリング外周に“”マークが付いているものと、付いていないものの二種類がある。
    PBIC3869J.JPG
  • ロックリング外周にある“”マーク部は、位置、方向を特定するものではないので無視する。
 
 インスペクションホールカバー取り付け

  • カバー取付前に燃料漏れの点検を行う。「取付後の点検」を参照する。
  • カバーの矢印を車両前方に向けて取り付ける。