ВИЗАТОР
Новости японской автоиндустрии
Главная
Новости
FAQ
Аукционы
Руководства по ремонту
Nissan Wingroad Y12: полное руководство по ремонту и обслуживанию на русском языке
Вы здесь:
Главная
Руководства по ремонту
Nissan Wingroad Y12: полное руководство по ремонту и обслуживанию на русском языке
Двигатель
Система управления двигателем
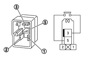
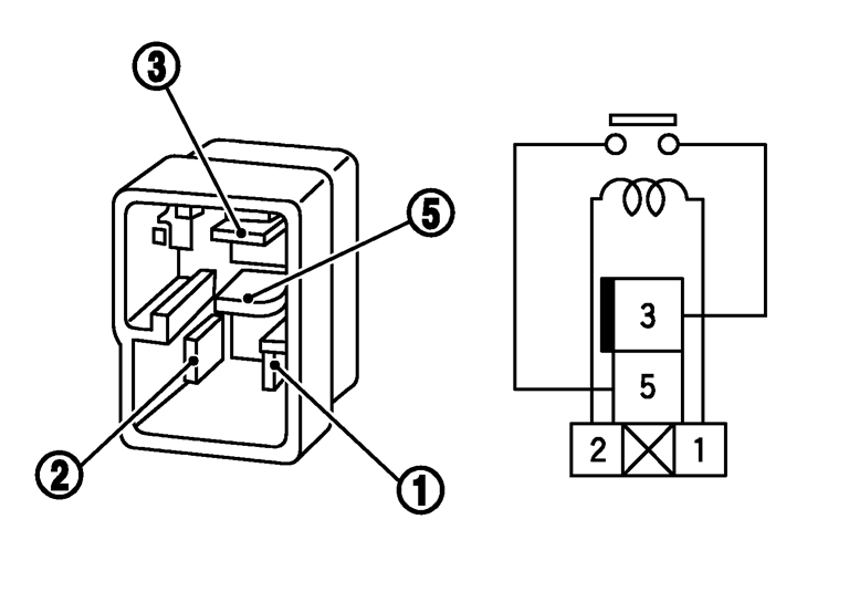
Проверка компонентов dtc p1650, реле стартера 2
Проверка компонентов dtc p1650, реле стартера 2
Проверка компонентов
スタータモータリレー2
1.12V 電圧をスタータモータリレー2の1 番端子と2 番端子間に加える。
2.スタータモータリレー2の3 番端子と5 番端子端子の導通を点検する。
状態
導通
12V電圧を1番端子と2番端子間に加えたとき
あり
電圧を加えないとき
なし
Предыдущий: Процедура диагностики неисправности dtc p1650, реле 2 стартера
Назад
Следующий: Обзор dtc p1651, отключение реле стартера
Вперед