Порядок выполнения самодиагностики


「DTC検出条件A」の手順を先に実施する。「DTC検出条件A」の手順でDTCを確認できない場合は、「DTC検出条件B」の手順を実施する。
参考:
直前に別の「自己診断実行手順」を実施した場合は、必ずキースイッチをOFFにし、10秒以上待ってから下記のテストを行う。
 
 DTC検出条件A
参考:
エンジンが始動しないか、すぐに停止する場合は、アイドル回転させる代わりにキースイッチONにし、10秒以上待つ。
    1.エンジンを始動し、冷却水温が適温になるまで暖機する。
    2.エンジンを10秒以上アイドル回転させる。
    3.DTCを確認する。
    4.DTCが検出された場合は、故障診断要領へ。
 
 DTC検出条件B
■ 注意 ■
常に安全運転を優先させること。
 
  CONSULT-IIIを使用する場合
  1. キースイッチをONにする。
  2. エンジンを始動し、冷却水温が適温になるまで暖機する。エンジンを始動できない場合は、故障診断要領へ。
  3. CONSULT-IIIの“データモニタ”モードを選択する。
    PBIB3457E.JPG
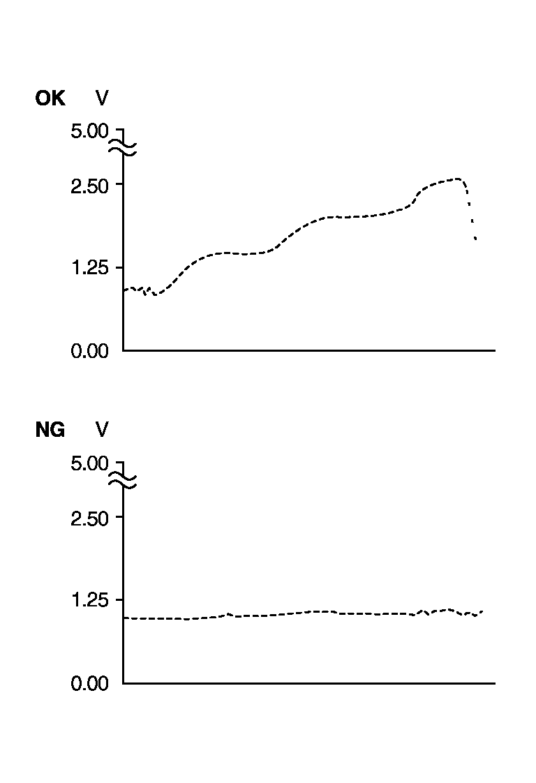
  4. “データモニタ”で“エアフローセンサB1”の電圧を点検する。
  5. エンジン回転数を約4,000 rpmまで上げる。
  6. エンジン回転数の上昇に応じて電圧が直線状に上昇するか確認する。NGの場合は、故障診断要領へ。OKの場合は、次のステップへ。
  7. 次の状態を連続10秒以上維持する。
    エンジンカイテンスウ
    2000rpm以上
    スロットルセンサ1 B1
    3V以上
    スロットルセンサ2 B1
    3V以上
    セレクタレバー
    適切な位置
    運転状態
    上り坂走行(エンジン負荷を増大)すると、このテストに必要な走行条件を維持する上で役立つ

  8. DTCを確認する。
  9. DTCが検出された場合は、故障診断要領へ。