Обзор системы
|
センサ |
ECM入力信号 |
ECMの機能 |
アクチュエータ |
|
クランクシャフトポジションセンサ |
エンジン回転数*2 ピストン位置 |
EGR制御 |
EGRコントロールバルブ |
|
カムシャフトポジションセンサ |
|||
|
エアフローセンサ |
吸入空気量 |
||
|
吸気温センサ |
吸入空気温 |
||
|
水温センサ |
エンジン冷却水温 |
||
|
スロットルポジションセンサ |
スロットル開度 |
||
|
アクセルペダルポジションセンサ |
アクセルペダル開度 |
||
|
パーク/ニュートラルポジション信号 |
トランスミッションギヤ位置 |
||
|
バッテリ |
バッテリ電圧*2 |
||
|
エアコンスイッチ |
エアコンON 信号*1 |
||
|
電気負荷 |
電気負荷信号*1 |
||
|
コンビネーションメータ |
車速*1 |
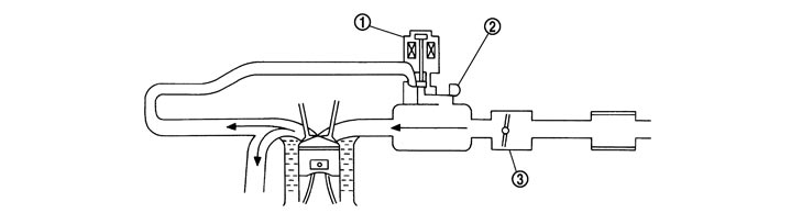
このシステムは、エキゾーストマニホールドからインテークマニホールドへ流れるEGR流量を制御する。EGRコントロールバルブはEGR通路を開閉することでEGR流量を調整している。EGRコントロールバルブに内蔵されたステップモータはECMからの出力信号に応じてバルブを動かす。ECMはエンジン回転数、負荷、燃焼状態などの運転条件に応じてバルブの開度を決定しEGR流量を精密に制御している。運転性向上のため、下記条件のときはEGRをカットします。
- エンジン始動時
- アイドル時
- 低水温時
- 高水温時
- エンジン高回転時
- 低吸気温時
- バッテリ電圧が低い時
| 1: | EGRコントロールバルブ | 2: | EGR温度センサ | 3: | 電子制御スロットル |