Снятие и установка


参考:
各部の取付後の点検は点検 を参照する。
 
 [付帯作業]

 
 フューエルフィードホース取り外し、取り付け

参考:
クイックコネクター部の分離、接続要領を記載する。
 
 取り外し

■ 注意 ■
クイックコネクターとフューエルフィードホースの接続部は分離しないこと。(圧入による一体構造)
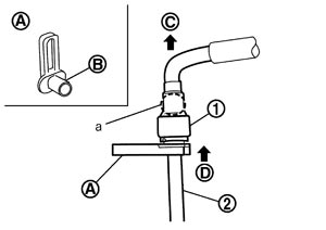
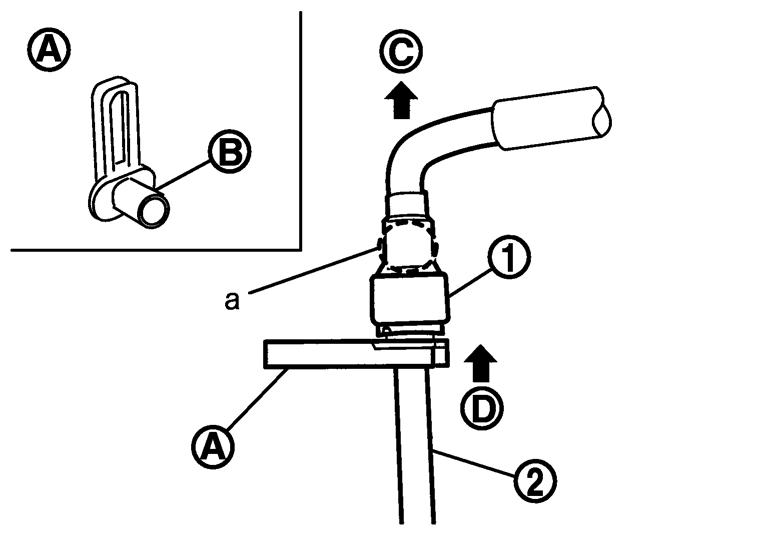
以下の要領でクイックコネクターリリース(A)(サービス設定品:以下名称を「リリース」と略す)を使用してクイックコネクター(1)をフューエルチューブ(2)から分離する。

PBIC3153J.JPG

B
: スリーブ側
C
: クイックコネクター側を引き抜く
D
: 挿入し保持する

    1.リリースのスリーブ側をクイックコネクターに向けてセットする。
    2.スリーブが突き当たるまでクイックコネクター内部にリリースを挿入して保持する。
    ■ 注意 ■
    リリースを強く挿入してもクイックコネクターは外れないので突き当たった位置で保持すること。
    3.クイックコネクターをフューエルチューブからまっすぐ引き抜く。
    ■ 注意 ■
    • 図の“a”部を持って引き抜くこと。
    • 燃料が漏れるので受け皿、ウエス等を用意すること。
    • 火気に注意すること。
    • 分離している間、損傷、異物の付着を防ぐためビニール袋等で開口部をふさぐこと。
    • クイックコネクター内のOリングを傷付けないよう注意すること。

 
 接続作業

以下の手順でクイックコネクターを接続する。
    1.異物の付着がないこと、フューエルチューブ、及びクイックコネクターに損傷がないことを確認する。
    2.新品のエンジンオイルをフューエルチューブ先端全周に少量塗布する。
    3.軸心を合わせ、クイックコネクター(1)をフューエルチューブにまっすぐ挿入する。
    PBIC3156J.JPG

    A
    : 先端側スプール
    B
    : 2段目スプール
    C
    : まっすぐ挿入
    D
    : かん合状態

    • 車両側はフューエルチューブに2箇所あるスプールの先端側が完全にクイックコネクター内に入り、2段目のスプールがクイックコネクター端からわずかに離れた位置になるまで挿入する。
      ■ 注意 ■
      • 図の“a”部を持って挿入すること。
      • 傾けて挿入した場合は、内部のOリングが損傷することがあるので、慎重に軸心を合わせること。(横荷重厳禁)
      • 「カチッ」というかん合音とかん合した時の手応えを確認すること。
      • 類似音による誤認の可能性があるので、必ず以下の手順4.、及び「クイックコネクターキャップ取り付け」に示す方法で確実なかん合を確認すること。

    4.フューエルフィードホースがホースブラケットに固定されていない状態で、クイックコネクターを手で強く引っ張り、フューエルチューブから抜けないことで確実なかん合状態を確認する。
 
 クイックコネクターキャップ取り付け
 
 取り付け

  • 側面の矢印がクイックコネクター側(フューエルフィードホース側)を向くよう取り付ける。
    PBIC3157J.JPG

    1
    : フューエルフィードホース
    2
    :クイックコネクターキャップ
    3
    :フューエルチューブ

    ■ 注意 ■
    • クイックコネクターキャップの取付溝にクイックコネクター、及びフューエルチューブが確実にかん合した状態を確認すること。
    • 円滑に取り付けられない場合は、クイックコネクターが正しく接続されていない可能性があるので、クイックコネクターキャップを外し、クイックコネクターの接続状態を再度確認すること。