ВИЗАТОР
Новости японской автоиндустрии
Главная
Новости
FAQ
Аукционы
Руководства по ремонту
Nissan Wingroad Y12: полное руководство по ремонту и обслуживанию на русском языке
Вы здесь:
Главная
Руководства по ремонту
Nissan Wingroad Y12: полное руководство по ремонту и обслуживанию на русском языке
Двигатель
Двигатель механическая часть
Снятие и установка натяжителя ремня вспомогательных агрегатов Ремень вспомогательных агрегатов (2wd)
Снятие и установка натяжителя ремня вспомогательных агрегатов Ремень вспомогательных агрегатов (2wd)
Снятие и установка натяжителя ремня вспомогательного привода.
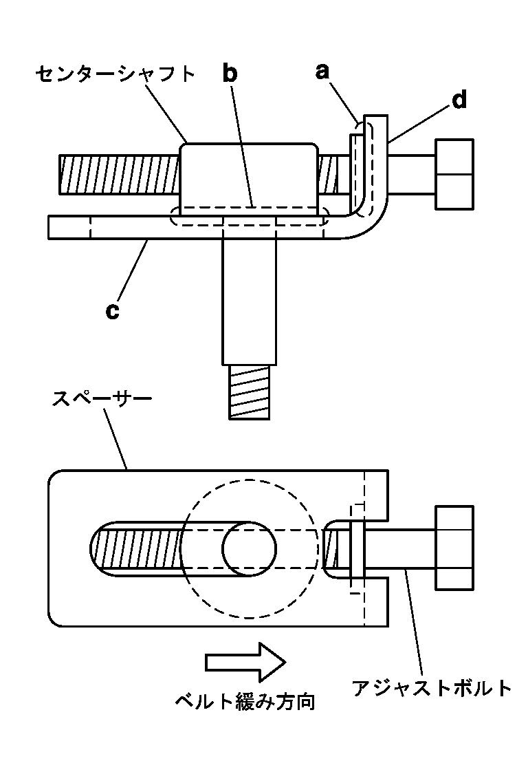
取り外し
1.補機ベルトを取り外す。
取り外し、取り付け
を参照する。
2.ロックナットを外し、プレート、アイドラープーリー、ワッシャーを取り外す。
3.アジャストボルト挿入状態のセンターシャフトをスペーサーと共に取り外す。
取り付け
1.スペーサーのスライド溝にセンターシャフトを通し、ベルト緩み方向いっぱいの位置までアジャストボルトをねじ込む。
このとき、アジャストボルトのフランジ部(a)、及びセンターシャフトの座面(b)をスペーサーに着座させる。
2.スペーサーの(c)、(d)各面をオルタネーターブラケットに着座させた状態で、ワッシャー、アイドラープーリー、プレートを取り付け、ロックナットを仮締めする。
ロックナット仮締めトルク
:3.9 N·m (0.40 kg‐m)
3.以下は取り外しと逆の手順で取り付ける。
Предыдущий: Снятие и установка ремня вспомогательного оборудования (2wd)
Назад
Следующий: Проверка натяжения вспомогательного ремня (e/4wd)
Вперед