Отсоединение от автомобиля


■ 注意 ■
  • 安全に留意して無理な作業は行わないこと。
  • 排気系統、及び冷却水の温度が下がるまで作業を行わないこと。
  • リフトアップは指定された支持点で行うこと。
  • リフトは二柱式、又はセパレート式を極力使用すること。やむを得ずボードオン式を使用する場合は後方への重心移動に備えて後軸側のジャッキポイントをミッションジャッキ等で支えて作業を行うこと。
  • リフトアップの支持点、及び後軸側のジャッキポイントについてはジャッキ・リフトアップ支持位置を参照すること。

 
 取り外し

[作業の概要]
エンジン・トランスアクスルASSYを車両下方へ取り外し、その後、エンジンASSYとトランスアクスルASSYを分離する。
[準備作業]
    1.吊り上げ可能な場合はエンジンフードを取り外す。フードを参照する。
    参考:
    エンジンの吊り上げはエンジンASSY脱着の際、姿勢を確保する為の補助的な作業。
    2.吊り上げ可能な場合はカウルトップカバー、エクステンションカウルトップを取り外す。カウルトップを参照する。
    参考:
    エンジンの吊り上げはエンジンASSY脱着の際、姿勢を確保する為の補助的な作業。
    3.燃圧を除去する。燃圧除去を参照する。
    4.冷却水を抜き取る。抜き取り、注入を参照する。
    5.以下の部品を取り外す。
[エンジンルーム左側]
    6.左エンジンマウント周辺、及び左フェンダー内でエンジンルームハーネス(2)の接続先[ECM(1)、CVT C/U等]を全て分離し、エンジンルームハーネスをエンジン側に仮止めしておく。
    PBIC3583J.JPG


    : 車両フロント

    ■ 注意 ■
    作業中、コネクターに異物が付着しないようビニール袋等で保護しておくこと。

    7.トランスアクスルASSYと車両間のアースを外す。
    8.ヒーターホースをエンジン側で外す。ウオーターアウトレット、ウオーターコントロールバルブを参照する。
    ■ 注意 ■
    分離後、ホースに栓(プラグ)を取り付けて、冷却水の漏れを防止すること。
    9.コントロールケーブルをトランスアクスルから外す。シフトコントロールシステムを参照する。
    10.フューエルフィードホースをエンジン側で外し、車両側へ仮止めする。フューエルインジェクター、フューエルチューブを参照する。
    ■ 注意 ■
    分離後、ビニール袋等で開口部をふさいで、燃料の漏れを防止すること。
    11.EVAPホースをEVAPパージコントロールソレノイドバルブから分離し、車両側へ仮止めする。インテークマニホールドを参照する。
[エンジンルーム前側、及び右側]
    12.フロントカバーと車両間のアースを外す。
    13.バキュームホース(ブレーキブースター用)をインテークマニホールドから分離する。インテークマニホールドを参照する。
    14.オルタネーターを取り外す。オルタネーターの取り外し、取り付けを参照する。
    15.配管を分離しない状態でエアコンコンプレッサーをエンジンから外し、配管に負担がかからないようロープ等で車両側に仮止めする。クーラーサイクルを参照する。
[車両下側]
    16.車輪回転センサーを左右ステアリングナックルから外す。車輪回転センサーを参照する。
    17.左右トランスバースリンクとステアリングナックル下部の連結部を分離する。トランスバースリンクを参照する。
    18.スタビライザーからスタビライザーコネクティングロッドを分離する。取り外し、取り付けを参照する。
    19.ステアリングリンケージのアウタソケットをステアリングナックルから分離する。取り外し、取り付けを参照する。
    20. 左右ドライブシャフトを取り外す。取り外し、取り付け(HR15DE:左側及び右側、 MR18DE:左側)、又は取り外し、取り付け(MR18DE:右側)を参照する。
    21.オイルパン(アッパー)後方のトランスミッションとの締結ボルトを取り外す。トランスアクスルASSYを参照する。
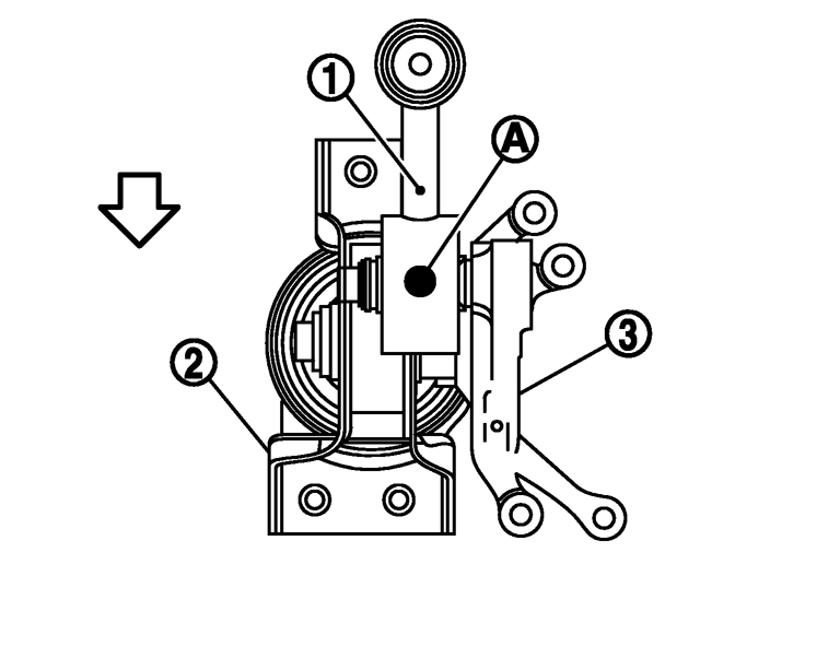
    22.リヤエンジンマウントブラケット(2)、リヤトルクロッド(1)を取り外す。
    PBIC3584J.JPG

    A
    : フロントマーク

    : 車両フロント


[取り外し作業]
    23.吊り上げ可能な場合は、エンジンスリンガー(サービス設定部品)をフロントカバー左上方側、及びシリンダーヘッド右側面後方側に取り付け、ホイストで吊ってエンジン位置を確保する。
    PBIC3222J.JPG


    : エンジンフロント

    参考:
    エンジンの吊り上げはエンジンASSY脱着の際、姿勢を確保する為の補助的な作業。

    エンジンスリンガー取付ボルト締付トルク
    フロントカバー左上方側
    : 32.9 N·m(3.4 kg-m)
    シリンダーヘッド右側面後方側
    : 25.0 N·m(2.6 kg-m)

    ■ 注意 ■
    前後エンジンスリンガー、及び取付ボルトは、指定のサービス設定部品を使用すること。「準備品」サービス設定部品を参照すること。

    24.作業しやすい高さまでリフトを上げて、エンジン下面を手動式リフトテーブルキャディー[特殊工具: GW86490800](A)、又は2台のミッションジャッキ等で確実に支える。吊り上げている場合は同時にホイストの張りを調整する。
    PBIC3223J.JPG
    ■ 注意 ■
    • 吊りチェーン、及び吊りフックがエアコン配管、及び車両(カウルトップ部)に干渉しないよう注意すること。また、作業中も、位置変化により干渉しないよう注意すること。
    • 前後左右のバランスが良く、安定した状態を確認すること。


    25.右トルクロッド(1)、右エンジンマウントブラケット(2)、及び右エンジンマウントインシュレーター(3)を取り外す。
    PBIC4423J.JPG


    : 車両フロント


    26.左エンジンマウントの通しボルト固定ナット(B)を取り外す。
    PBIC3586J.JPG

    1
    : 左エンジンマウントインシュレーター
    2
    : 左エンジンマウントブラケット(車両側)
    A
    : 通しボルト

    : 車両フロント


    27.手動式リフトテーブルキャディー[特殊工具: GW86490800]、ミッションジャッキ等の下面支持具を慎重に下げて(又はリフトを慎重に上げて)、エンジン·トランスアクスルASSYを車両から取り外す。
    • エンジン側を下降させる場合は、ホイストの下降を連動させる。(吊り上げている場合)
    ■ 注意 ■
    • 車両側に干渉しないよう確認しながら作業を行うこと。
    • 外し忘れた接続箇所がないことを確認しながら作業を行うこと。
    • 吊りチェーン、及び吊りフックが、エアコン配管、及び車体に干渉しないよう注意すること。(吊り上げている場合)
    • 取り外しに伴う車両の重心変化で、リフトから車両が落下することがないよう作業を行うこと。
    • 必要に応じ、車両後方をジャッキ等で支持して車両落下を防止すること。

[分離作業]
  • 以下は平地でのエンジン分離作業
■ 注意 ■
作業中は木片等で底面を確実に支え、エンジンスリンガーをホイストで吊って安定した状態を確認しながら作業を行うこと。
    28.吊り上げて作業を並行して行わなかった場合は、エンジンスリンガー(サービス設定部品)をフロントカバー左上方側、及びシリンダーヘッド右側面後方側に取り付ける。要領は手順23.を参照する。
    29.ホイストで吊ってエンジン位置を確保する。
    30.スターターモーターを取り外す。スターターモーターの取り外し、取り付けを参照する。
    31.エンジンASSY、トランスアクスルASSYを分離する。トランスアクスルASSYを参照する。
    32.エンジンASSY、トランスアクスルASSY、及び車両より各エンジンマウントインシュレーター、ブラケット等を取り外す。
 
 取り付け

以下に注意して取り外しと逆の手順で取り付ける。
■ 注意 ■
  • 各エンジンマウントインシュレーターにオイルの付着や損傷がないよう取り扱うこと。
  • 取付方向に指示のある部品は、フロントマークを確認して取り付けること。構成図を参照する。
  • 各エンジンマウントインシュレーターにこじれがない状態で、取付ボルト、ナットを締め付けること。

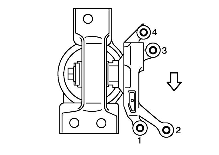
  • 右エンジンマウントブラケットは全ての取付ボルトを仮締め後、図の番号順に規定トルクで締め付ける。
    PBIC3545J.JPG


    : 車両フロント


  • 右トルクロッド(1)は識別ペイントを上側に向けて取り付ける。
    JPBIA2168ZZ.JPG

    2
    :右エンジンマウントインシュレーター
    3
    :右エンジンマウントブラケット
    A
    : 識別ペイント

    : 車両フロント